EasyManua.ls Logo

Monster 659 - Oil Temperature Indicator

Monster 659
131 pages
Print Icon
To Next Page IconTo Next Page
To Next Page IconTo Next Page
To Previous Page IconTo Previous Page
To Previous Page IconTo Previous Page
Loading...
25
E
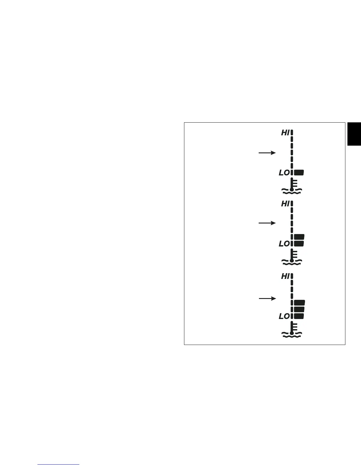
Oil temperature indicator
This function describes the engine oil temperature indicator.
Display indications:
- if the temperature is between -40°C and +80°C the
display shows “STATUS 2”;
- if the temperature is between +81°C and +110°C the
display shows “STATUS 3”;
- if the temperature is between +111°C and +135°C the
display shows “STATUS 4”;
fig. 17
STATUS 2
STATUS 3
STATUS 4

Table of Contents