EasyManua.ls Logo

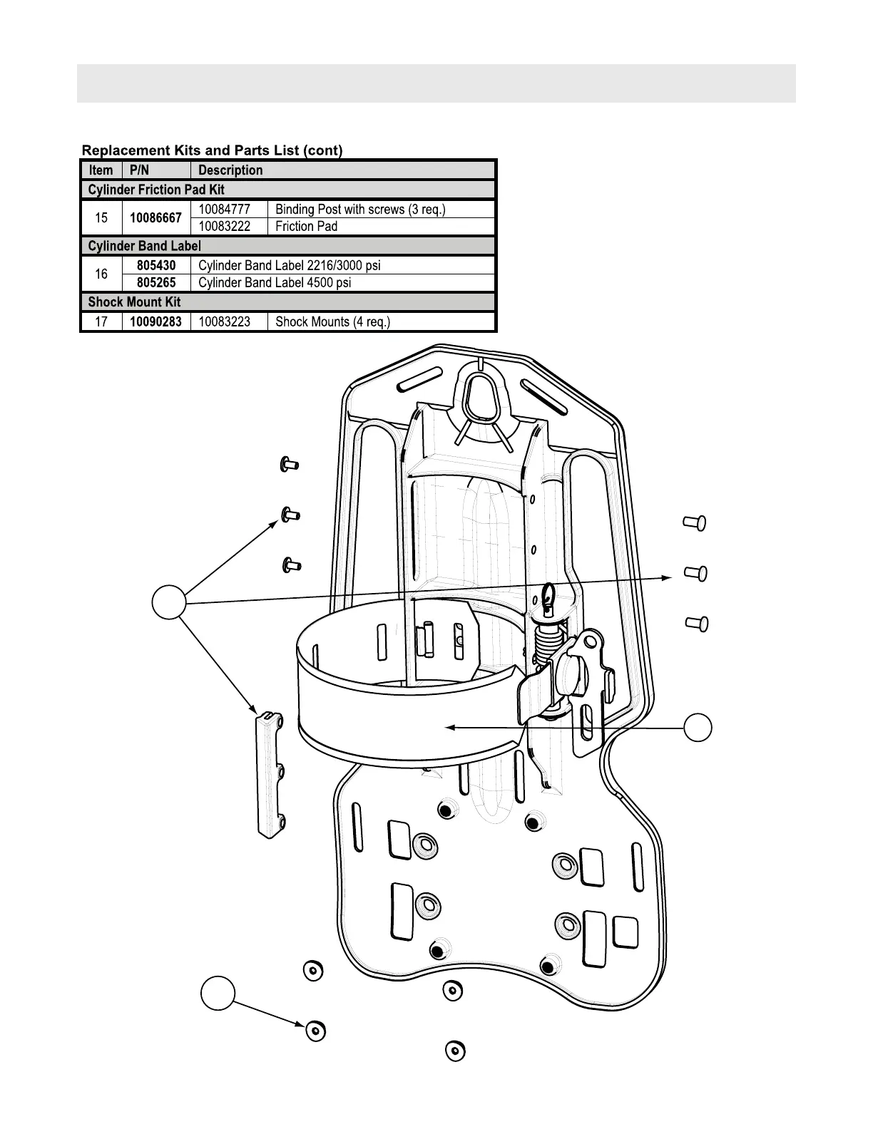
MSA FireHawk M7 - Replacement Kits and Parts List: Cylinder Friction Pad, Cylinder Band Label, and Shock Mount Kit; Exploded View: Cylinder Friction Pad, Cylinder Band Label, and Shock Mount Kit

MSA FireHawk M7
11 pages
Print Icon
To Next Page IconTo Next Page
To Next Page IconTo Next Page
To Previous Page IconTo Previous Page
To Previous Page IconTo Previous Page
Loading...
FIREHAWK M7 CARRIER AND HARNESS ASSEMBLY
4
TAL 8012 (L) Rev. 2 - 10093081
15
16
17

Other manuals for MSA FireHawk M7

Related product manuals