EasyManua.ls Logo

MTS Systems 318 Series - Page 27

MTS Systems 318 Series
120 pages
Print Icon
To Next Page IconTo Next Page
To Next Page IconTo Next Page
To Previous Page IconTo Previous Page
To Previous Page IconTo Previous Page
Loading...
318 Load Unit Introduction
27
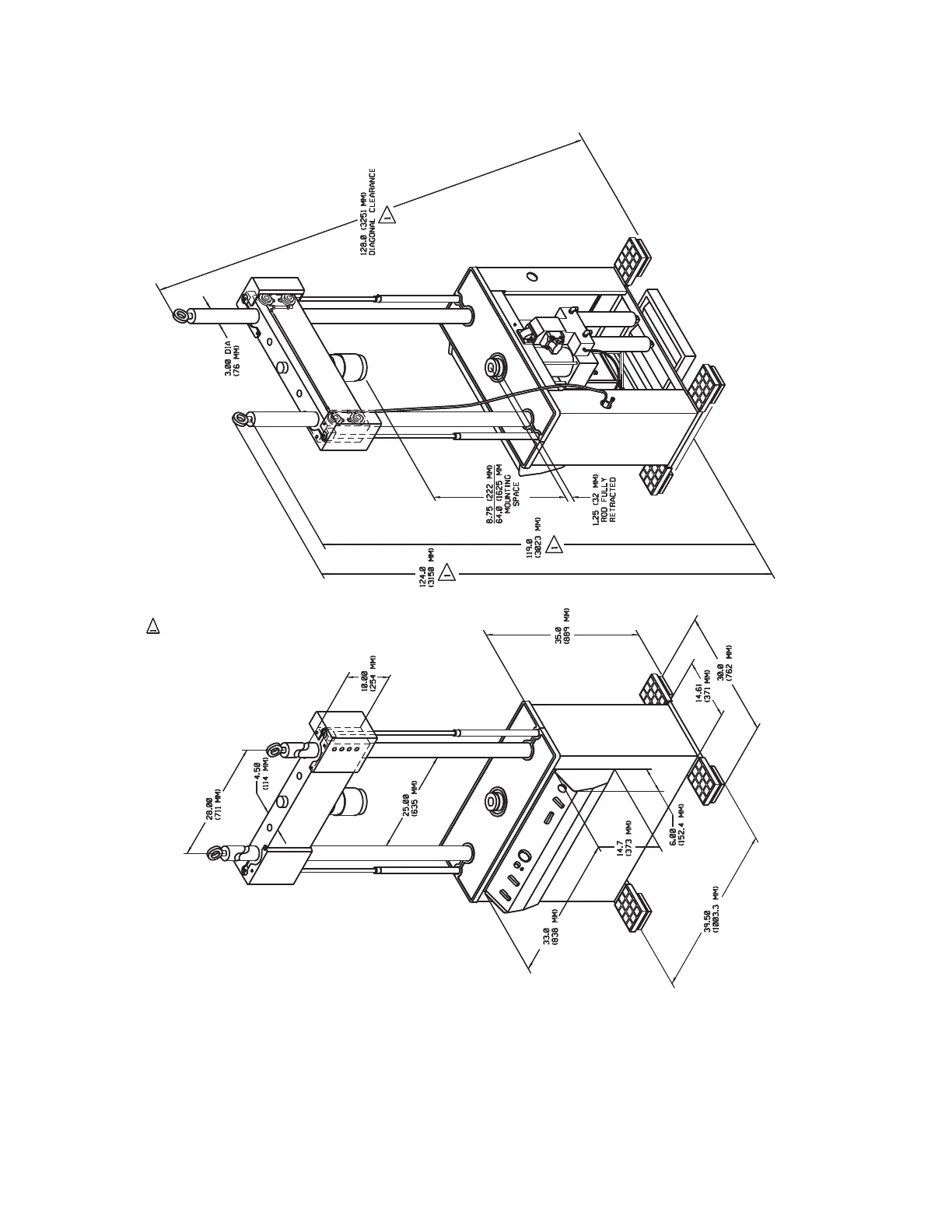
318.25B Load Unit Dimensions

Table of Contents

Related product manuals