EasyManua.ls Logo

MULTISPAN SQT 1044 - Menu-3 Operation; Number of Channels Setting; Number of Cycles Setting; Mode Configuration (Common;Individual)

MULTISPAN SQT 1044
4 pages
Print Icon
To Next Page IconTo Next Page
To Next Page IconTo Next Page
To Previous Page IconTo Previous Page
To Previous Page IconTo Previous Page
Loading...
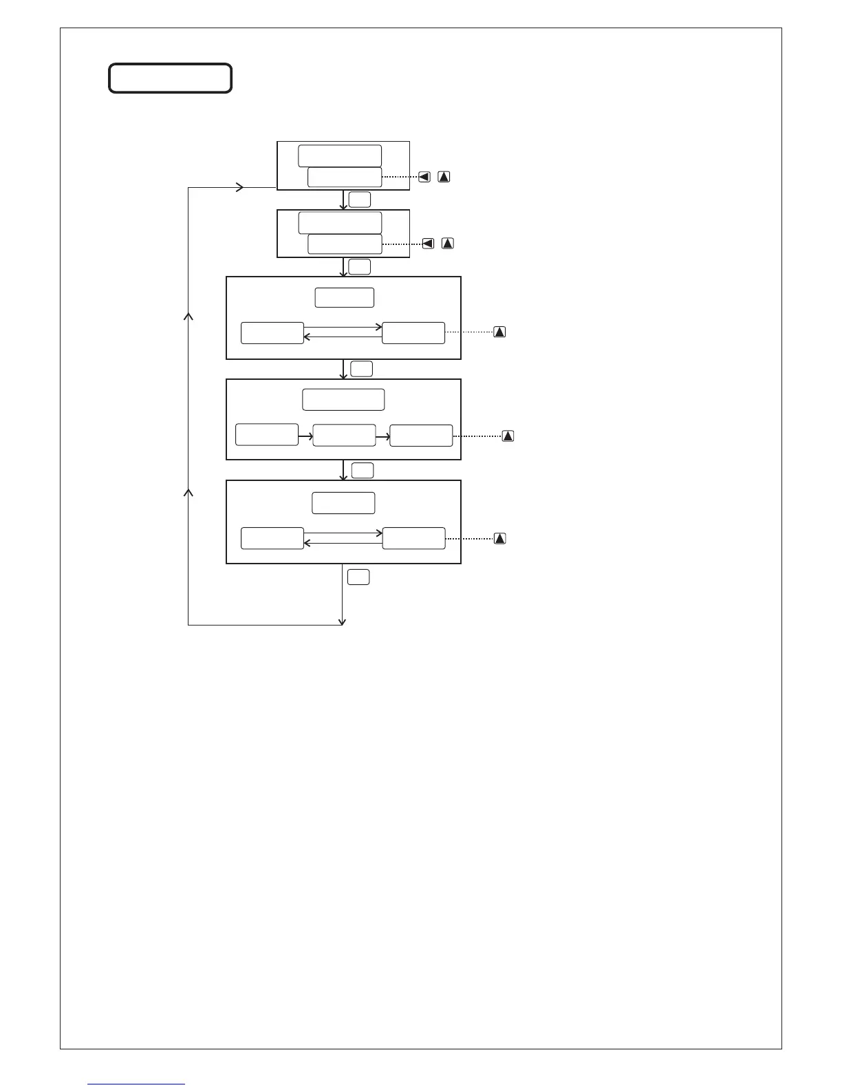
MENU-3
www.multispanindia.com
PAGE - 3
To Select No. Of Channels
(Maximum:8)
To Select No. Of Cycles.
IF 0 Selected instrument will go in infinite loop
In ‘Common’ Selected All channels
Would have same mode.
Type Of Input For Start Pulse
Can Be Selected
To Keep Memory Select
‘YES’
IF ‘Individual’ Selected all channels
can be configured individualy
M o d e
1 2
9 9 9
M e m o
Y e s
N o
I n p t
P w o n
T r I g
E n b l
C o m n
I n d u
&
&
SET
SET
SET
SET
SET
N O C H.
N O C L.

Related product manuals