EasyManua.ls Logo

MUTOH VJ-1324 - Page 29

MUTOH VJ-1324
212 pages
Print Icon
To Next Page IconTo Next Page
To Next Page IconTo Next Page
To Previous Page IconTo Previous Page
To Previous Page IconTo Previous Page
Loading...
VJ-1324 OPERATION MANUAL 3 Before using
3-11
The printer starts the initializing operation.
After the initial operation is compete, "Start Ink Charge – > E" is displayed on the operation
panel.
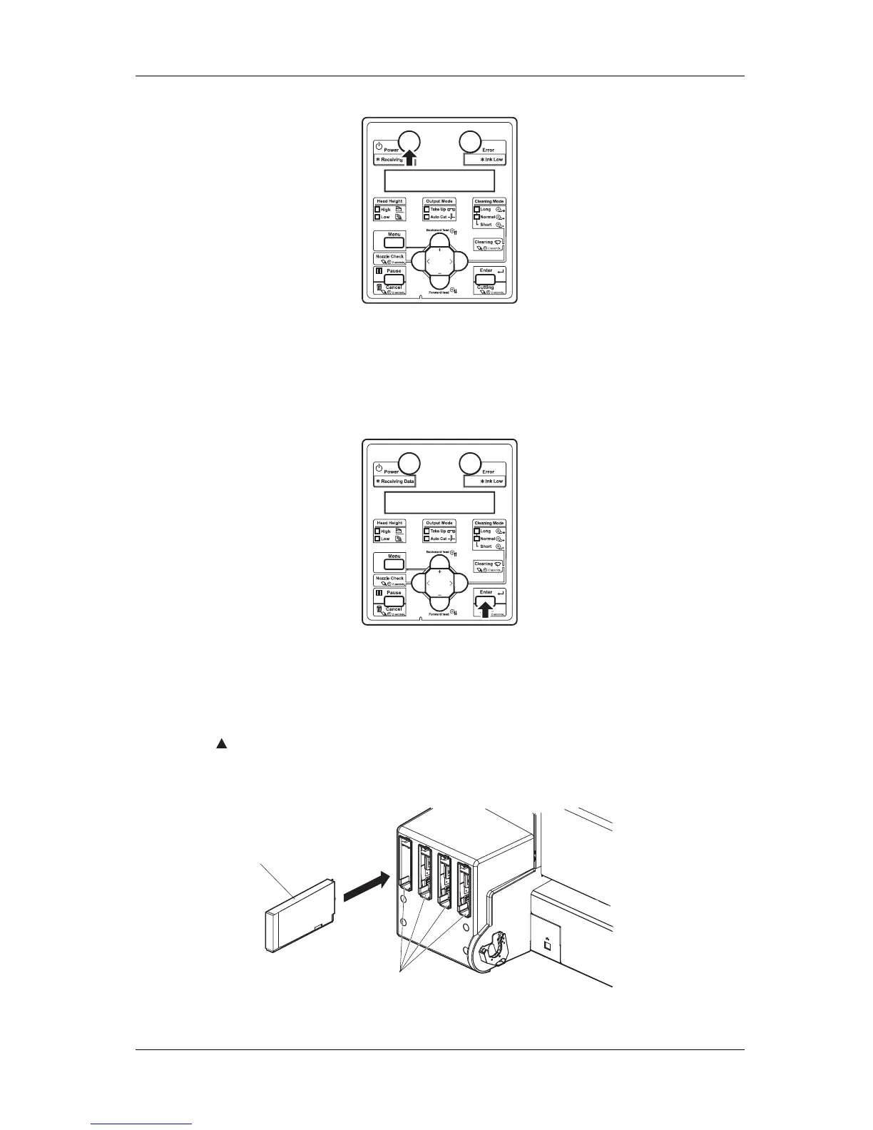
2. Press the [Enter] key on the operation panel.
"Insert Cleaning cart." is displayed on the operation panel.
3. Take out the cleaning cartridge from the bag.
4. Set the cleaning cartridge to the ink cartridge slot.
Keep mark of the cleaning cartridge facing up and insert towards the printer side.
Insert the cleaning cartridge all the way to the end of the slot.
1
2

Other manuals for MUTOH VJ-1324

Related product manuals