EasyManua.ls Logo

MyBinding Standard APC45 Programmable - Cutting Mechanism

Default Icon
54 pages
Print Icon
To Next Page IconTo Next Page
To Next Page IconTo Next Page
To Previous Page IconTo Previous Page
To Previous Page IconTo Previous Page
Loading...
3
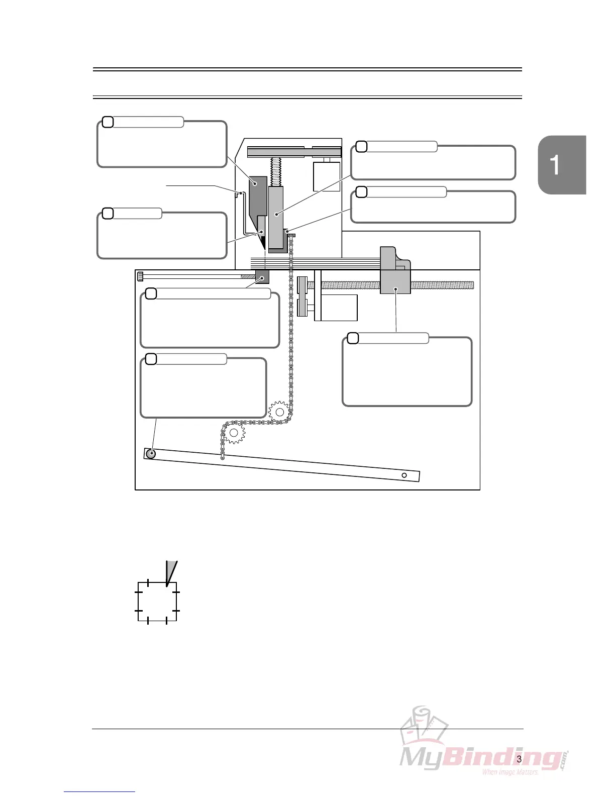
Cutting Mechanism
Machine
Descriptions
1-3 Cutting Mechanism
1
2
4
5
7
6
M
M
3
1
2
3
7
6
8
45
Knife Holder
Knife
After the clamp presses the
sheets, this knife holder lowers
and the sheets are cut.
This knife cuts the sheets. If the
knife edge becomes dull, replace
with a new one.
Knife Cover
Clamp
When the cutting buttons are pressed, this
clamp presses the sheets first.
Foot Pedal Clamp
When the foot pedal (No.7) is stepped,
only this part lowers.
Cutting Stick
The knife cuts into this stick and the
sheets are cut. If the groove of the
cutting stick becomes deep, turn it
by 90 degrees.
Backgauge
This backgauge moves to the
set position. The length
between this backgauge and
the knife will be the cutting
length. This value is indicated
as current position.
Foot Pedal
When this foot pedal is stepped
on, the clamp lowers depending
on the stepping depth.
Use this to check the cutting
position.
• The lowering limit position of the knife (No.2) can be adjusted.
Adjust if the knife height becomes smaller because of resharpening. See page 33.
• The cutting stick (No.4) is cut by the knife and ditched.
When the knife cuts the same position of the cutting stick and the
groove of the cutting stick becomes deep, the bottom sheet may
remain uncut.
In this case, turn the cutting stick and use another face.
The cutting stick provides two surfaces per face.
Therefore, up to eight times - four faces can be used totally.

Related product manuals