EasyManua.ls Logo

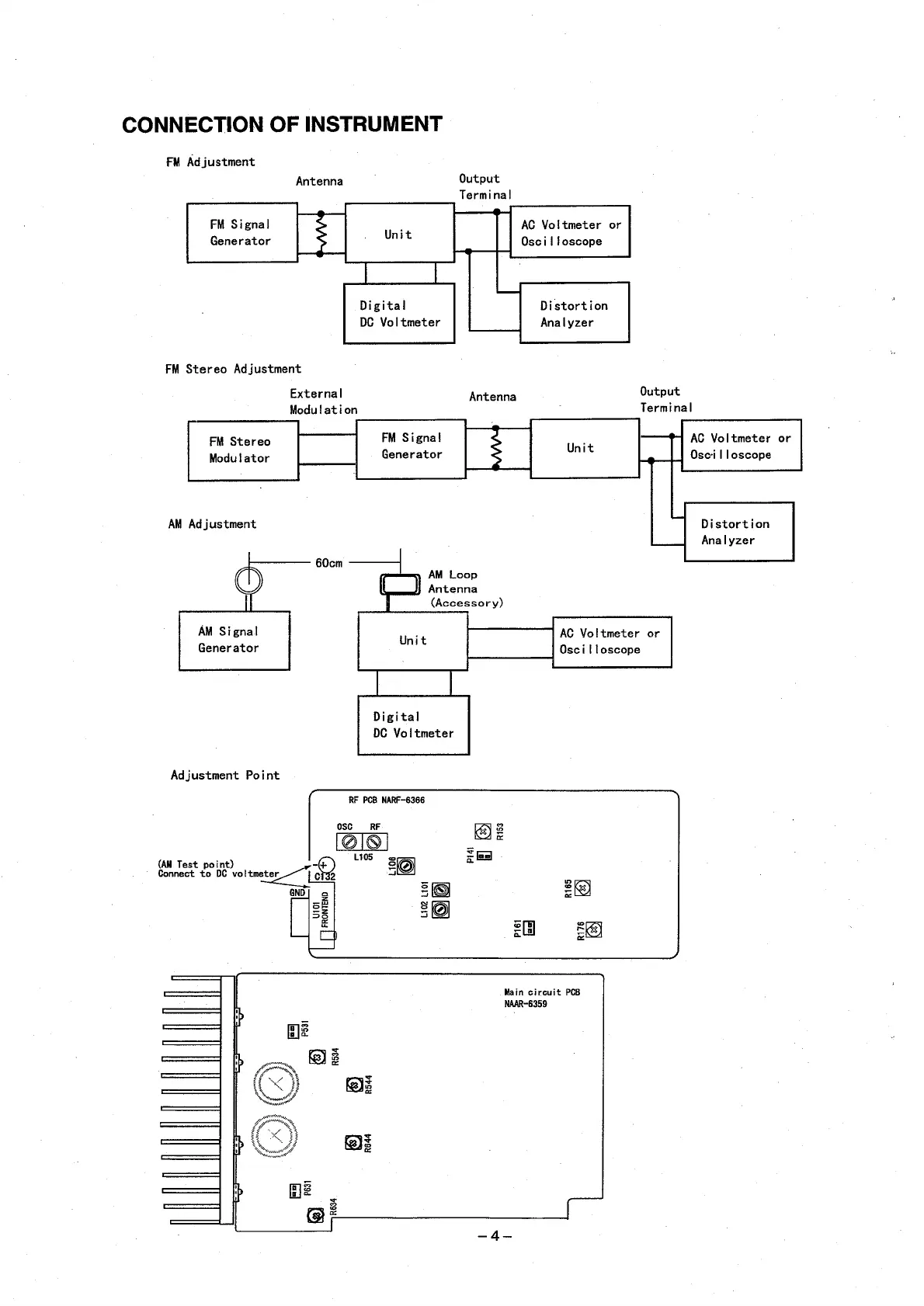
NAD C740 - Instrument Connection for Alignment; Alignment Setup Diagrams

NAD C740
27 pages
Print Icon
To Next Page IconTo Next Page
To Next Page IconTo Next Page
To Previous Page IconTo Previous Page
To Previous Page IconTo Previous Page
Loading...

Other manuals for NAD C740

Related product manuals