EasyManua.ls Logo

Network Equipment Technologies SBC 2000 - Page 30

Network Equipment Technologies SBC 2000
38 pages
Print Icon
To Next Page IconTo Next Page
To Next Page IconTo Next Page
To Previous Page IconTo Previous Page
To Previous Page IconTo Previous Page
Loading...
3.
1.
2.
3.
4.
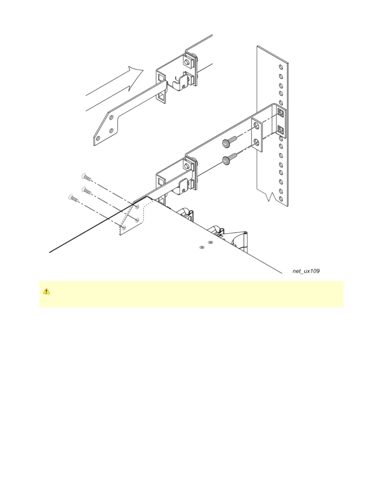
The illustration above shows the rear bracket assembly for a rack with a30-inch depth. For racks with a 24-inch depth, do not use the
9-inch extension arm and attach each support bracket directly to the rear rack posts.
To Install UX2000 in a 4-Post Equipment Rack
Attach the 2 rack mounting ears securely to the front corners of the UX chassis.
Attach the 2 pan handle plates securely to the rear corners of the UX chassis.
Working with a partner, lift the UX chassis and slide it into the equipment rack, making sure to seat each pan handle plate into the support
brackets mounted on the rear support posts.
Attach the 2 rack mounting ears securely to the front mounting posts of the equipment rack.
Refer to the illustration below for visual details of the installation (click to enlarge).