EasyManua.ls Logo

Nokia 7500 Prism - Keys and Parts; Switch the Device on and off; Standby Mode

Nokia 7500 Prism
72 pages
To Next Page IconTo Next Page
To Next Page IconTo Next Page
To Previous Page IconTo Previous Page
To Previous Page IconTo Previous Page
Loading...
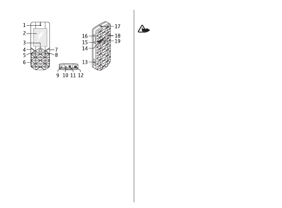
Keys and parts
4 — Left selection key
5 — Call key
6
— Keypad
7
— Right selection key
8 — End key
9 — Microphone
10 — Charger connector
11 — Nokia AV Connector (2.5 mm)
12 — Mini USB cable connector
13 — Camera key
14 — Camera flash
15 — Volume down key
16 — Volume up key
17
— Power key
18 — Loudspeaker
19 — Camera lens
Warning:
The power key (17) and metallic trim in
this device may contain nickel. It is not designed for
prolonged contact with the skin. Continuous exposure t
o
nickel on the skin may lead to a nickel allergy.
Switch the device on and off
To switch the device on or
off, press and hold the power
key.
If the device prompts for a PIN or a UPIN code, enter the
code (displayed as ****), and select OK
.
The device may prompt you to set the time and date. Ente
r
the local time, select the time
zone of your location in
terms of the time difference with respect to Greenwich
mean time (GMT), and enter the date. See "Time and
date," p. 36.
When you switch on your device for the first time an
d the
device is in the standby mo
de, you may be prompted to
get the configuration settings from your service provide
r
(network service). For more information refer to
Connect
to support. See "Configuration," p. 41. See
"Configuration setting service," p. 10.
Standby mode
When the device is ready for use, and you have not
entered any characters, the device is in the standby mode.
Cyan
Cyan
Magenta
Magenta
Yellow
Yellow
Black
Black
1 — Earpiece
2 — Display
3 — Navi™ key: 4-way navigation key and middle
key
selection
16

Table of Contents

Other manuals for Nokia 7500 Prism

Related product manuals