EasyManua.ls Logo

Nokia RM-272 - Microphone Troubleshooting

Nokia RM-272
152 pages
Print Icon
To Next Page IconTo Next Page
To Next Page IconTo Next Page
To Previous Page IconTo Previous Page
To Previous Page IconTo Previous Page
Loading...
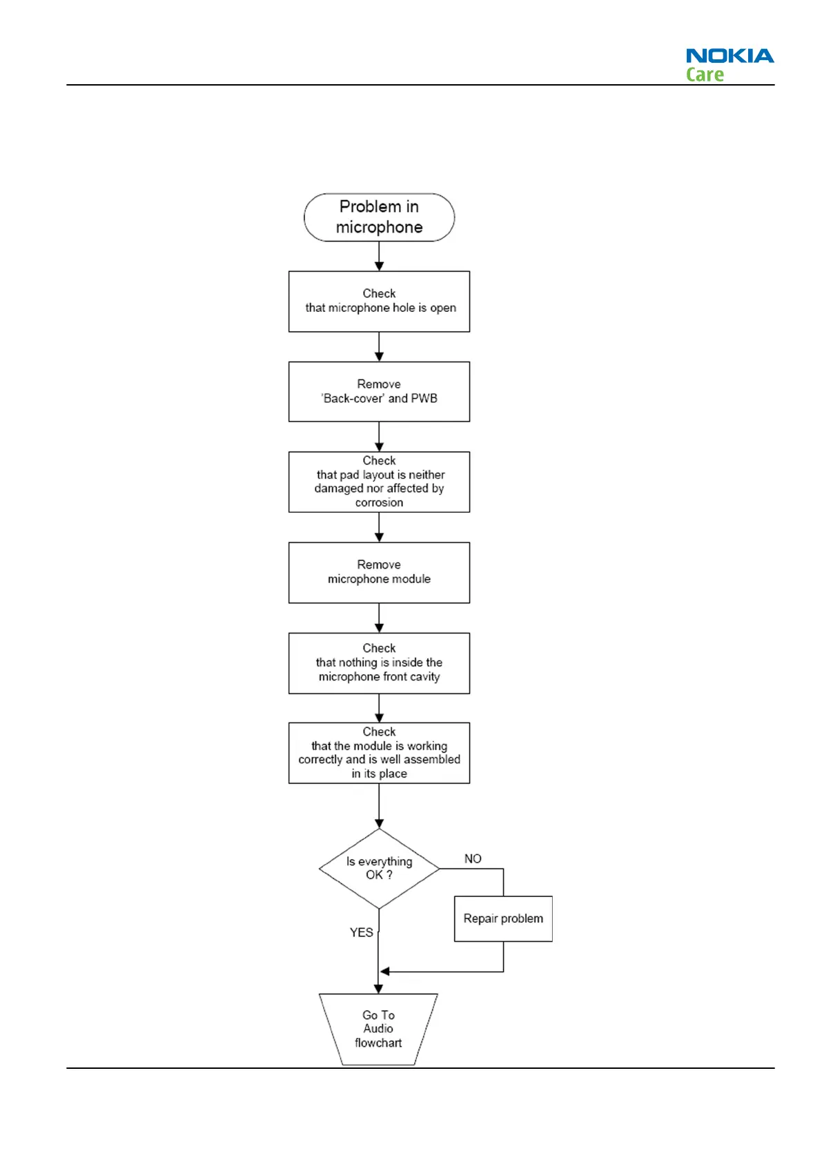
Microphone troubleshooting
Troubleshooting flow
RM-272; RM-273
BB Troubleshooting and Manual Tuning Guide
Issue 1 COMPANY CONFIDENTIAL Page 3 –33
Copyright © 2007 Nokia. All rights reserved.

Table of Contents

Related product manuals