EasyManua.ls Logo

ODES 650 ATV-L - Indicators and Gauges

Default Icon
89 pages
Print Icon
To Next Page IconTo Next Page
To Next Page IconTo Next Page
To Previous Page IconTo Previous Page
To Previous Page IconTo Previous Page
Loading...
53
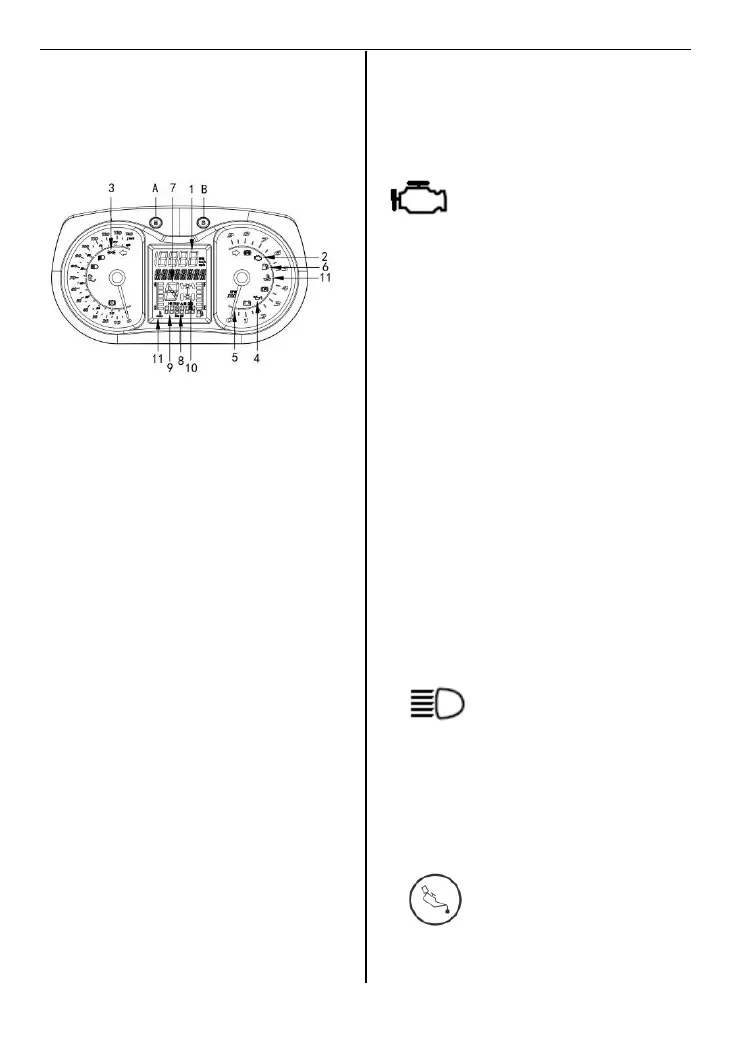
(7) Multifunction gauge
This vehicle is equipped with an
electronic multifunction gauge.
1. Speed meter indicator
2. Check engine indicator
3. Headlight indicator
4. Oil pressure indicator
5. Engine speed indicator
6. Fuel indicator
7. Neutral position indicator
8.Trip meter indicator
9. Time indicator
10. 2WD/4WD indicator
11. Engine temperature indicator
A. MODE button
B. SET/RESET button
(1) Speed meter indicator
The figure of speed will display and
update synchronous while switching
between KM/H and MPH in unit of
pedometer.
(2) Check engine indicator light
(YELLOW)
After turning the ignition switch on,
the light shall be on, and the light
should immediately turn off after
starting the engine. If the light is on
while the engine is on, it indicates
that the system has an error.
When some electric engine parts are
reading faulty, the check engine
indicator light will also be ON, the
vehicle still can be running, the
driving performance can get worse,
which signals indicates the vehicle
needs repair.
(3) Head-light indicator light
When this indicator light is ON, the
head light is turned on.
(4) Check engine indicator light
(YELLOW)
When this indicator light is ON, it
indicates a low oil pressure.

Table of Contents

Related product manuals