EasyManua.ls Logo

ODES 650 ATV-L - Engine Oil

Default Icon
89 pages
Print Icon
To Next Page IconTo Next Page
To Next Page IconTo Next Page
To Previous Page IconTo Previous Page
To Previous Page IconTo Previous Page
Loading...
70
Engine Oil
Engine Oil l Level
NOTE: Check level frequently and refill
if necessary. Do not overfill. Operating
the engine/gearbox with an improper
level may severely damage
engine/gearbox. Wipe off any spillage.
NOTE: While checking the oil level,
visually inspect engine area for leaks.
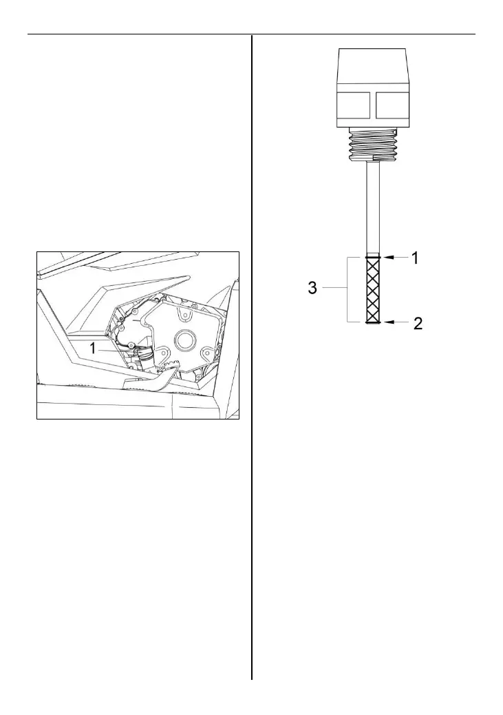
RH SIDE OF ENGINE
1.Dipstick
With vehicle on a level surface and
engine cold, not running, check the
oil level as follows:
1. Unscrew dipstick then remove it
and wipe clean.
2.Reinstall dipstick, screw in it
completely.
3.Remove and check oil level. It
should be near or equal to the upper
mark.
TYPICAL
1. Full
2. Add
3. Operating range
To add oil, remove the dipstick.
Place a funnel into the dipstick tube
to avoid spillage.
Add a small amount of
recommended oil and recheck oil
level.
Repeat the above procedures until
oil level reaches the dipstick's upper
mark.
Do not overfill.
Properly tighten dipstick.

Table of Contents

Related product manuals