EasyManua.ls Logo

Ohmeda 3000 - Page 39

Default Icon
62 pages
Print Icon
To Next Page IconTo Next Page
To Next Page IconTo Next Page
To Previous Page IconTo Previous Page
To Previous Page IconTo Previous Page
Loading...
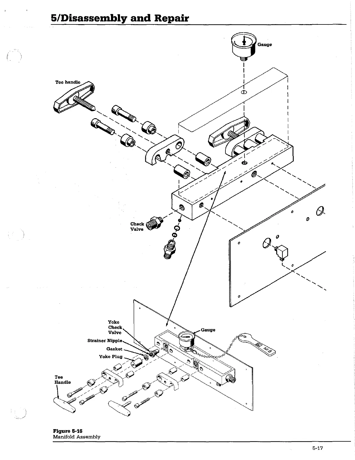
5/Disassembly
and
Repair
Gauge
Yoke
Check
Valve
Strainer
Nipple
Gasket
Yoke
Plug
ow
Tee
2
>“
©
>
Handle
Y
AS
A
Figure
5-16
Manifold
Assembly

Related product manuals