EasyManua.ls Logo

Oki Microline 3320 - Upper Cover Assy, Access Cover Assy and Sheet Guide Assy

Oki Microline 3320
155 pages
Print Icon
To Next Page IconTo Next Page
To Next Page IconTo Next Page
To Previous Page IconTo Previous Page
To Previous Page IconTo Previous Page
Loading...
3 – 8
1
3
4
5
2
A
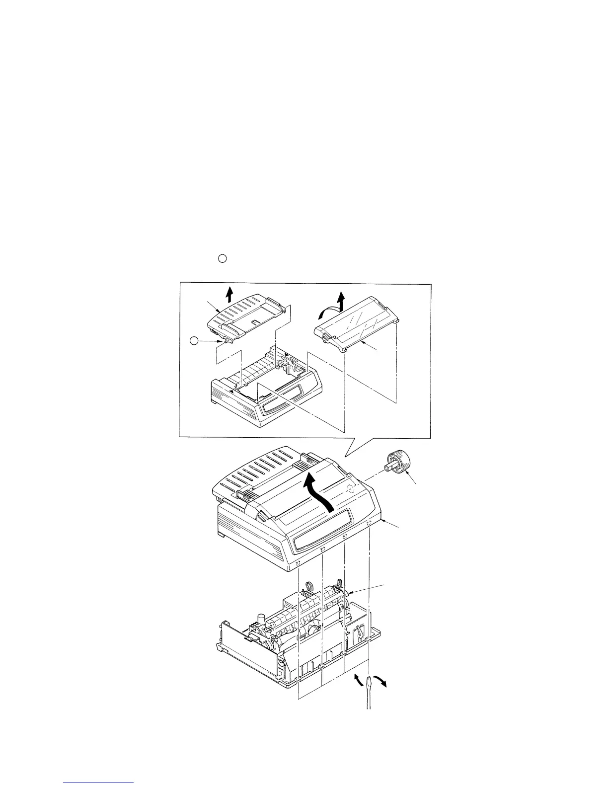
3.3.4 Upper Cover Assy, Access Cover Assy and Sheet Guide Assy
(1) Pull off the platen knob 1.
(2) Turn the change lever 2 toward the bottom position.
(3) Insert a flat-blade screwdriver into grooves (5 places) (4 places for narrow type) of frame
and twist to disengage claws of upper cover 3.
(4) Raise the front side of upper cover Assy 3 and shift toward the rear to disengage claws
(6 places) (5 places for narrow type) of frame.
(5) Raise the upper cover Assy 3 to remove.
(6) Open the access cover Assy 4 toward the front to remove.
(7) Lift up the sheet guide Assy 5 to remove.
(8) To install, follow the removal steps in the reverse order.
Remark on assembly:
Match the posts A at the both sides of the Sheet Guide 5 with the arrow marks on
the upper cover. Push the Guide into the Cover.

Table of Contents

Other manuals for Oki Microline 3320

Related product manuals