EasyManua.ls Logo

Olympus U-DO3 - Controls Overview; 2-person, opposite viewing U-DO3 Controls

Olympus U-DO3
18 pages
Print Icon
To Next Page IconTo Next Page
To Next Page IconTo Next Page
To Previous Page IconTo Previous Page
To Previous Page IconTo Previous Page
Loading...
,
i
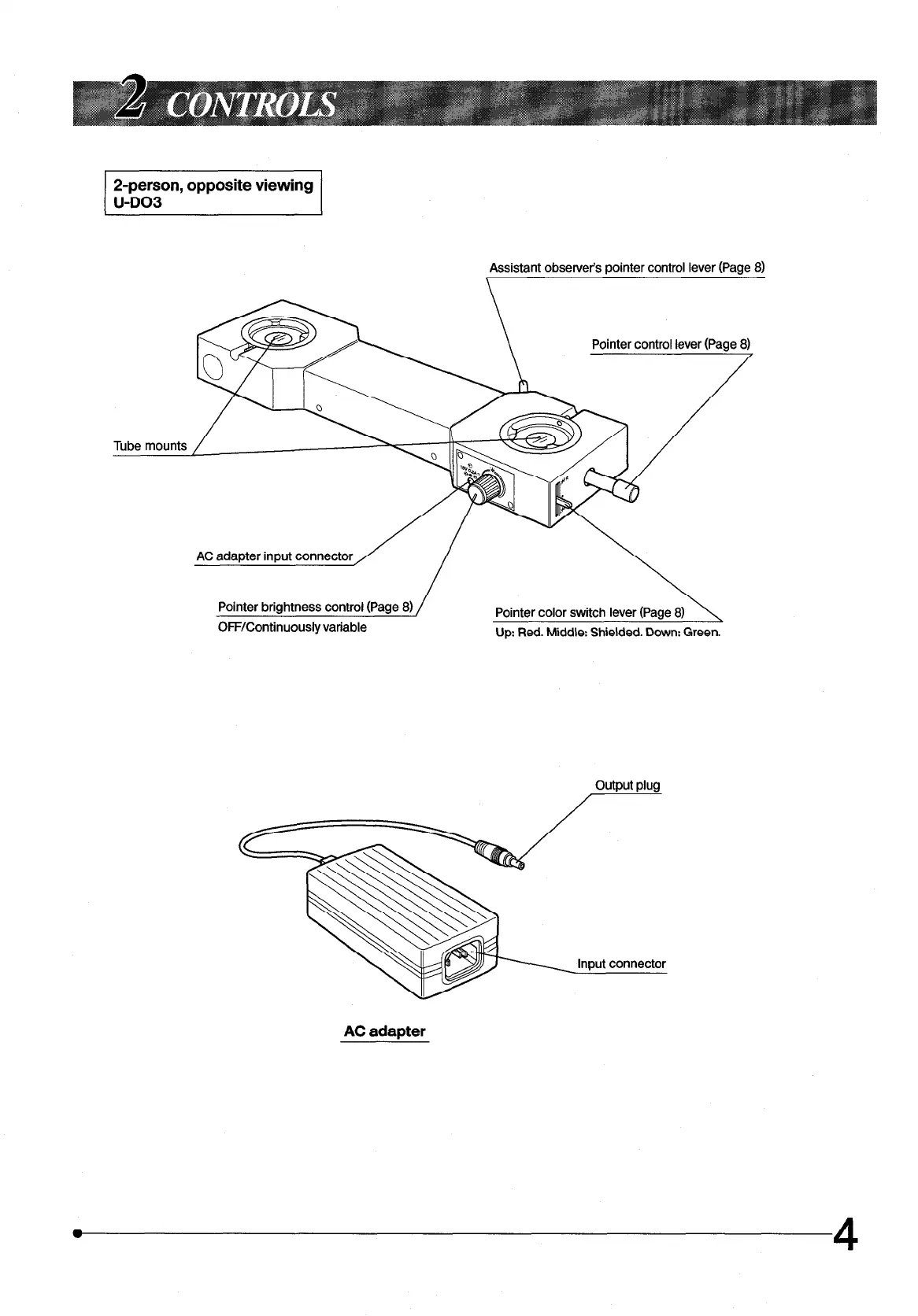
a-person, opposite viewing
U-DO3
Assistant obsetver’s pointer control lever (Page 8)
\
Pointer control lever (Paae 81
AC adapter input connector/ \
Pointer brightness control (Page 8)
/
Pointer color switch lever (Page 8)
OFFKontinuously variable
Up: Red. Middle: Shielded. Down: Green.
output plug
I
AC adaWer
0
4

Related product manuals