EasyManua.ls Logo

Olympus V 90 - Forward Skip (F-Skip);Reverse Skip (R-SKIP)

Olympus V 90
30 pages
Print Icon
To Next Page IconTo Next Page
To Next Page IconTo Next Page
To Previous Page IconTo Previous Page
To Previous Page IconTo Previous Page
Loading...
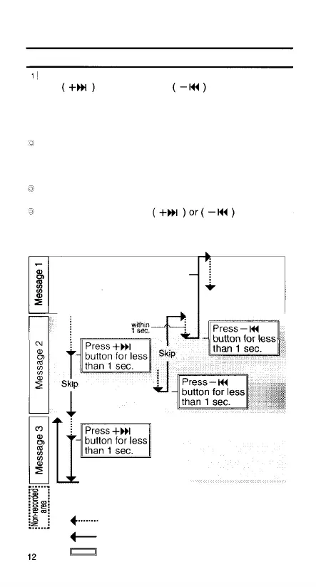
Forward Skip (F-SKIP)/Reverse Skip (R-SKIP)
Press and release (for less than a second) the Forward
Skip
or Reverse Skip button in the Stop,
Playback, Fast Playback or Playback-Pause mode.
Each time you press the button, the recorder skips to
the beginning of the next message or the beginning of
the message in the corresponding direction.
When the button is pressed in the Playback, Playback-
Pause or Fast Playback mode, playback or fast
playback automatically starts at the beginning of the skip
destination message.
When this is done during playback pause, playback will
start from the beginning of the message.
more than 1 second in the Stop mode enables you to
forward skip or reverse skip messages successively.
Release the button to stop skipping.
Pressing and holding the button for
Indicates playback or fast playback operation
Indicates forward skip or reverse skip operation
Indicates button operation.
Displays [END] on the LCD.
returns to the beginning of
message 3 and enters stop
mode.
Skips to the beginning of
message 1 and enters Playback
or Fast Playback mode.