EasyManua.ls Logo

Omega CNI32 - Process Current - Wiring Hookup; Process Voltage - Wiring Hookup; Figure 2.7 Process Current Wiring Hookup (Internal and External Excitation); Figure 2.8 Process Voltage Wiring Hookup A) with Sensor Excitation

Omega CNI32
53 pages
To Next Page IconTo Next Page
To Next Page IconTo Next Page
To Previous Page IconTo Previous Page
To Previous Page IconTo Previous Page
Loading...
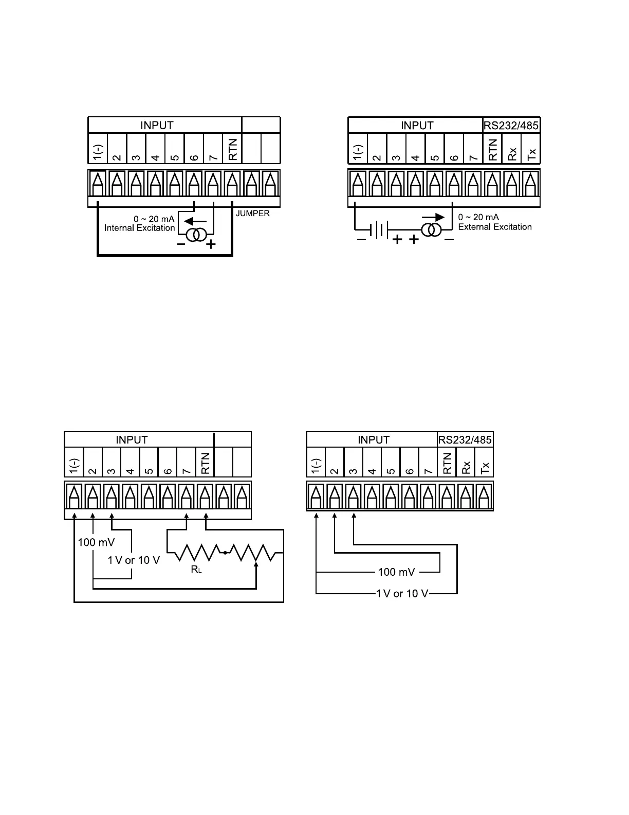
2.3.4 Process Current
The figure below shows the wiring hookup for Process Current 0 – 20 mA.
Figure 2.7 Process Current Wiring Hookup
(Internal and External Excitation)
When configuring your instrument, select Process Type in the Input Type Menu
(see Part 3).
2.3.5 Process Voltage
The figure below shows the wiring hookup for Process Voltage 0 – 100 mV,
0 – 1 V, 0 – 10 V.
Figure 2.8
a) Process Voltage Wiring Hookup b) Process Voltage Wiring Hookup
with Sensor Excitation without Sensor Excitation
RL - Voltage limited resistor, which allows to convert 24 Vdc internal excitation
voltage to the appropriate process input value. For instance: if the potentiometer
value is equal to 10 k, the minimum R
L is 14 k for 10 V process input.
When configuring your instrument, select Process Type in the Input Type Menu
(see Part 3).
10

Table of Contents

Other manuals for Omega CNI32

Related product manuals