EasyManua.ls Logo

Omega CNI32 - Display Color Selection Menu; Figure 3.12 Flow Chart for Display Color Selection

Omega CNI32
53 pages
To Next Page IconTo Next Page
To Next Page IconTo Next Page
To Previous Page IconTo Previous Page
To Previous Page IconTo Previous Page
Loading...
39
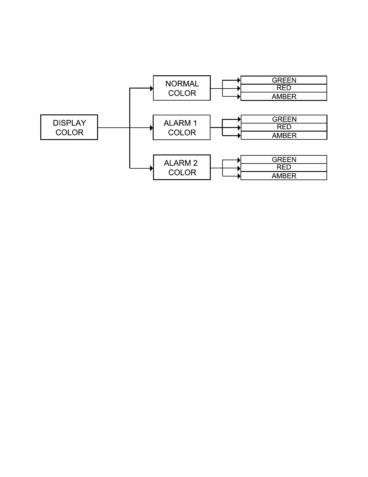
3.2.12 Display Color Selection Menu
This submenu allows the user to select the color of the display.
Figure 3.12 Flow Chart for Display Color Selection Menu
ENTER DISPLAY COLOR SELECTION MENU:
Press
a
1) Press
a
, if necessary, until
CNFG
prompt appears.
Press
d
2) Display advances to
INPT
Input Menu.
Press
a
3) Press
a
, if necessary, until display advances to
COLR
Display Color Selection Menu.
Press
d
4) Display advances to
N.CLR
Normal Color Submenu.
NORMAL COLOR DISPLAY SUBMENU:
Press
d
5) Display flashes the previous selection for “Normal Color”.
Press
b
6) Scroll through the available selections:
GRN
,
RED
or
AMBR
.
Press
d
7) Display shows
STRD
stored message momentarily and then
advances to
1.CLR
only, if it was changed, otherwise press
a
to
advance to
1.CLR
Alarm 1 Display Color Submenu.
The menu below allows the user to change the color of display when alarm is
triggered.
ALARM 1 DISPLAY COLOR SUBMENU:
Press
d
8) Display flashes previous selection for “Alarm 1 Color Display”.
Press
b
9) Scroll through the available selections:
GRN
,
RED
or
AMBR
.
Press
d
10) Display shows
STRD
stored message momentarily and then
advances to
2.CLR
only, if it was changed, otherwise press
a
to
advance to
2.CLR
Alarm 2 Display Color Submenu.

Table of Contents

Other manuals for Omega CNI32

Related product manuals