EasyManua.ls Logo

Onkyo TX-SR506 - Controlling a VCR or PVR

Onkyo TX-SR506
96 pages
Print Icon
To Next Page IconTo Next Page
To Next Page IconTo Next Page
To Previous Page IconTo Previous Page
To Previous Page IconTo Previous Page
Loading...
84
Controlling Other Components
—Continued
T
PLAY MODE button
Selects play modes on components with selectable
play modes.
U
CLR button
Cancels functions and clears entered numbers.
Note:
If you enter the remote control code for a HD DVD or
Blu-ray player that has A, B, C, and D buttons, the
[SEARCH], [REPEAT], [RANDOM], and [PLAY
MODE] buttons will work as the A (red), B (green), C
(blue), and D (yellow) buttons respectively. In this
case, these buttons cannot be used to set repeat play-
back, random playback, or select play modes.
By pressing the REMOTE MODE button that’s been
programmed with the remote control code for your VCR
(TV/VCR, PVR, DBS/PVR combination or cable/PVR
combination), you can control your video recorder with
the following buttons.
For details on entering a remote control code for a differ-
ent component, see page 81.
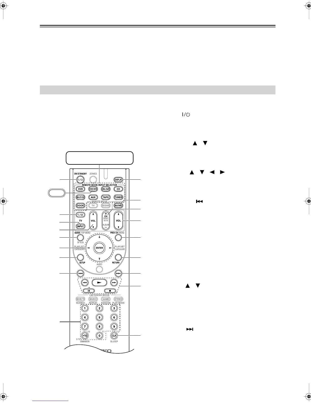
A
ON/STANDBY button
Set the video recorder to On or Standby.
B
TV [ ] button
Set the TV to On or Standby.
C
TV [INPUT] button
Selects the TV’s external inputs.
D
TV VOL [ ]/[ ] button
Adjust the TV’s volume.
E
GUIDE button
Displays the program guide or navigation list.
F
Arrow [ ]/[ ]/[ ]/[ ] and ENTER buttons
Used to navigate menus and select items.
G
SETUP button
Displays the video recorders setup menu.
H
Previous [ ] button
Previous or instant replay function.
I
Number buttons
Enter numbers. The [0] button enters 11 on some
components. The [+10] button works as a +10 but-
ton or “-.--” button.
J
DISPLAY button
Displays information.
K
MUTING button (46)
Mutes or unmutes the AV receiver.
L
CH +/– button
Selects TV channels on the video recorder.
M
VOL [ ]/[ ] button (45)
Adjusts the volume of the AV receiver.
N
PREV CH button
Selects the previous channel.
O
RETURN button
Exits the menu or returns to the previous menu.
P
Next [ ] button
Next or advance function.
Q
Playback buttons
From left to right: Previous, Next, Rewind, Play,
Fast Forward, Pause, and Stop.
R
CLR button
Cancels functions or enters the number 12.
Controlling a VCR or PVR
I
A
R
J
O
N
E
VCR
/
DVR
G
H
Q
P
L
K
F
B
M
D
C
Press the appropriate
REMOTE MODE button first
* With some components, certain buttons may not
work as expected, and some may not work at all.
TX-SR506En.book Page 84 Friday, February 29, 2008 5:31 PM

Table of Contents