EasyManua.ls Logo

Onkyo TX-SR705 - Connecting a VCR or DVD Recorder for Recording

Onkyo TX-SR705
162 pages
Print Icon
To Next Page IconTo Next Page
To Next Page IconTo Next Page
To Previous Page IconTo Previous Page
To Previous Page IconTo Previous Page
Loading...
33
Connecting the AV Receiver/AV Amplifier—Continued
Notes:
The AV receiver/AV amplifier must be turned on for recording. Recording is not possible while it’s in Standby mode.
If you want to record directly from your TV or playback VCR to the recording VCR without going through the AV
receiver/AV amplifier, connect the TV/VCR’s audio and video outputs directly to the recording VCR’s audio and
video inputs. See the manuals supplied with your TV and VCR for details.
Video signals connected to composite video inputs can only be recorded via composite video outputs. If your
TV/VCR is connected to a composite video input, the recording VCR must be connected to a composite video output.
Similarly, video signals connected to S-Video inputs can only be recorded via S-Video outputs. If your TV/VCR is
connected to an S-Video input, the recording VCR must be connected to an S-Video output.
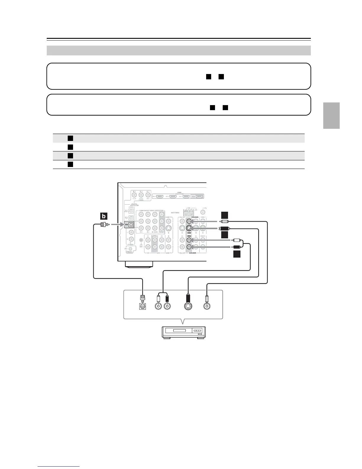
Connecting a VCR or DVD Recorder for Recording
Connection AV receiver/AV amplifier Signal flow VCR or DVD recorder Picture quality
VCR/DVR OUT S
S-Video input Better
VCR/DVR OUT V
Composite video input Standard
VCR/DVR OUT L/R
Audio L/R input
DIGITAL OPTICAL OUT
Digital optical input
Step 1: Video Connection
Choose a video connection that matches your VCR or DVD recorder ( or ), and then make the connection. The
video source to be recorded must be connected to the AV receiver/AV amplifier via the same type of connection.
A B
Step 2: Audio Connection
Choose an audio connection that matches your VCR or DVD recorder ( or ), and then make the connection.
a b
A
B
a
b
S VIDEO
IN
AUDIO
IN
VIDEO
IN
LR
B
C
A
a
B
OPTICAL
IN
VCR,
DVD recorder

Table of Contents

Other manuals for Onkyo TX-SR705

Related product manuals