EasyManua.ls Logo

Palfinger PTV 35 - Page 20

Palfinger PTV 35
47 pages
Print Icon
To Next Page IconTo Next Page
To Next Page IconTo Next Page
To Previous Page IconTo Previous Page
To Previous Page IconTo Previous Page
Loading...
PTV 33/44/55/66 Owner’s Manual
Rev. 1.0 18
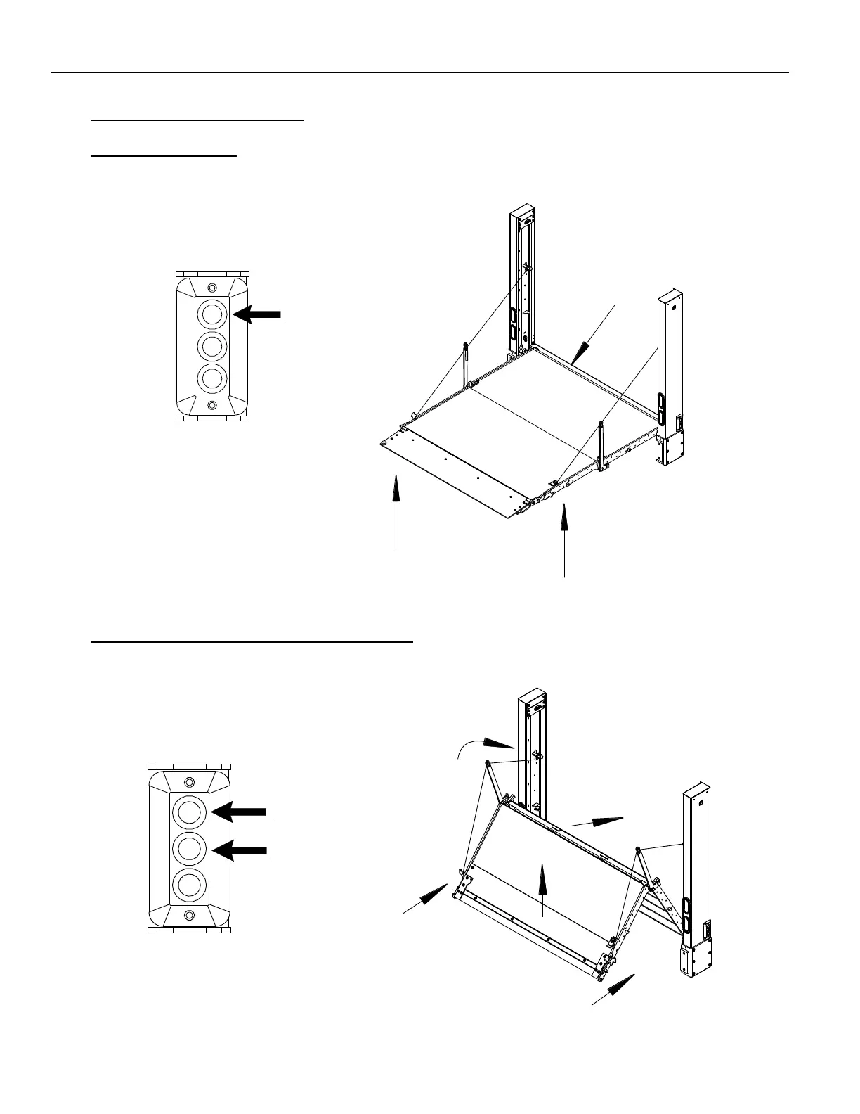
4. Raise the platform to bed level: Pushing the “UP” button, raise the platform to bed level.
5. Bleeding the system: With the platform at bed level, push the “UP” button for thirty (30) seconds. This
will bypass hydraulic fluid through hydraulic poppet valves located in each of the lift cylinder pistons re-
turning hydraulic fluid back to the reservoir via the return lines.
UP
6. Closing and Storing of the Platform for transit: With the platform open at bed level use the “UP” button
and “CLOSE” button together, power the platform closed.
UP
OPEN

Related product manuals