EasyManua.ls Logo

Panametrics MG2-XT - Reviewing Stored Thickness Data

Default Icon
138 pages
Print Icon
To Next Page IconTo Next Page
To Next Page IconTo Next Page
To Previous Page IconTo Previous Page
To Previous Page IconTo Previous Page
Loading...
March 2006 910-257C
MG2 Series Page 4-45
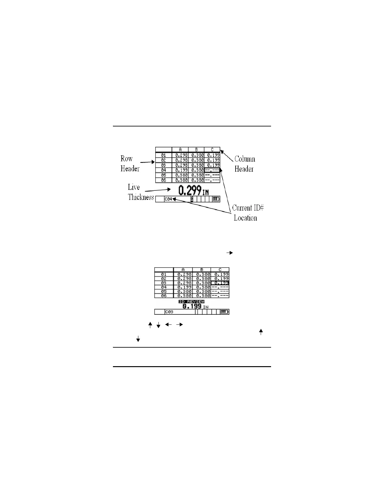
4.15.3 Reviewing Stored Thickness Data While DB
Grid Is Active
Step 1: From Measure mode, press the [2
nd
F], [ ] (ID#) key. The
gage displays the ID REVIEW screen.
Step 2: Use [ , , , ] to move to a new grid or ID#
location. For incremental or sequential files, only the [ ,
] keys can be used.
Note: The user can jump to the beginning of the file by press-

Table of Contents

Related product manuals