EasyManua.ls Logo

Panasonic AJ-D650 - Internal Encoder Adjustments

Panasonic AJ-D650
65 pages
Print Icon
To Next Page IconTo Next Page
To Next Page IconTo Next Page
To Previous Page IconTo Previous Page
To Previous Page IconTo Previous Page
Loading...
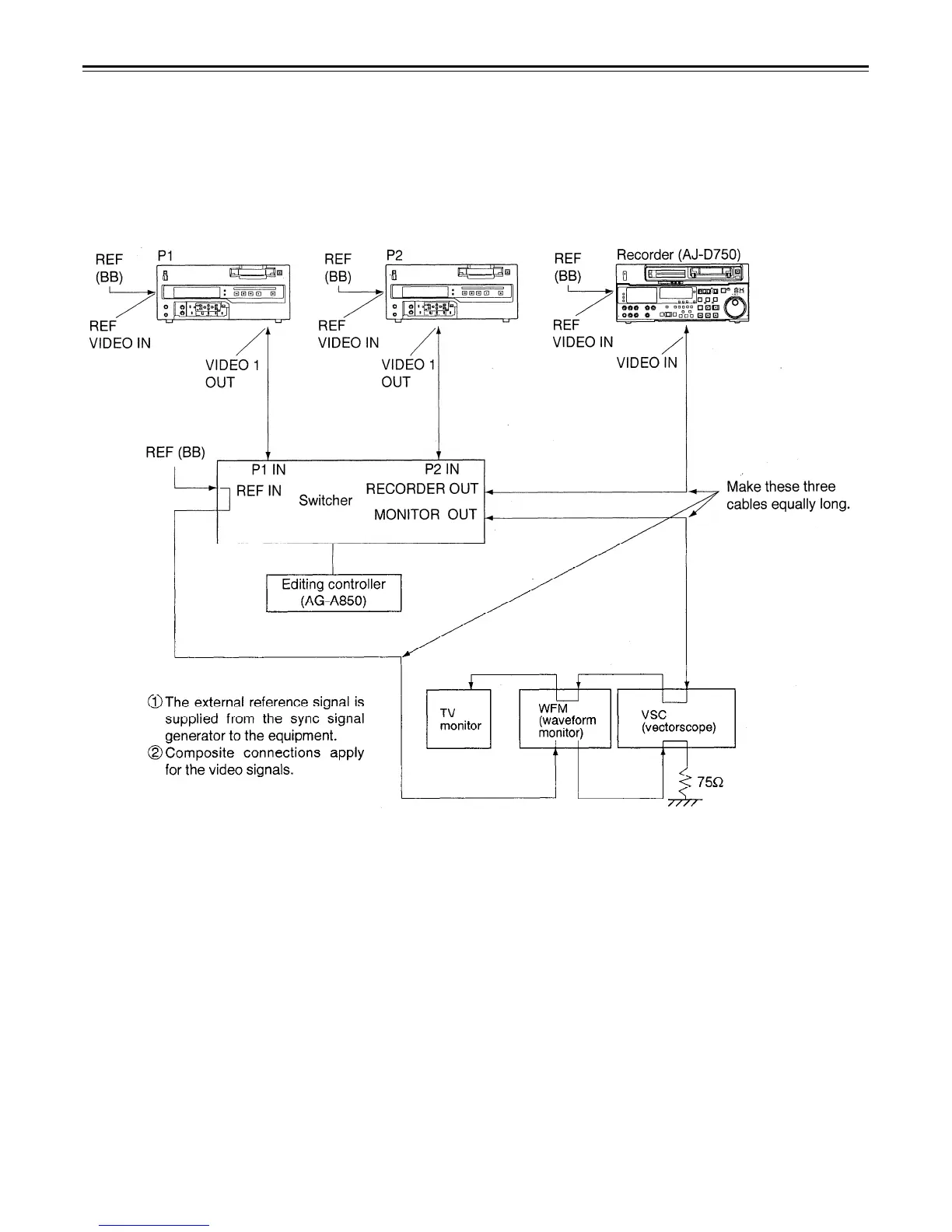
Internal encoder adjustments
In order to ensure error-free and accurate editing during AB roll editing (a method of editing using two source
VTRs) using an editor, the ENCODER OUT controls must be adjusted after the system has been connected.
(These controls must be re-adjusted each time the connecting cables are replaced or the connections are
changed.)
Connect the equipment as shown in the figure below.
If a waveform monitor and vectorscope are not available, correct any color shifting while actually monitoring the
picture on the TV monitor.
–18–

Related product manuals