EasyManua.ls Logo

Panasonic CU-4E27QBR - 9 Installation Information; Cu-4 E23 Qbr

Panasonic CU-4E27QBR
149 pages
Print Icon
To Next Page IconTo Next Page
To Next Page IconTo Next Page
To Previous Page IconTo Previous Page
To Previous Page IconTo Previous Page
Loading...
38
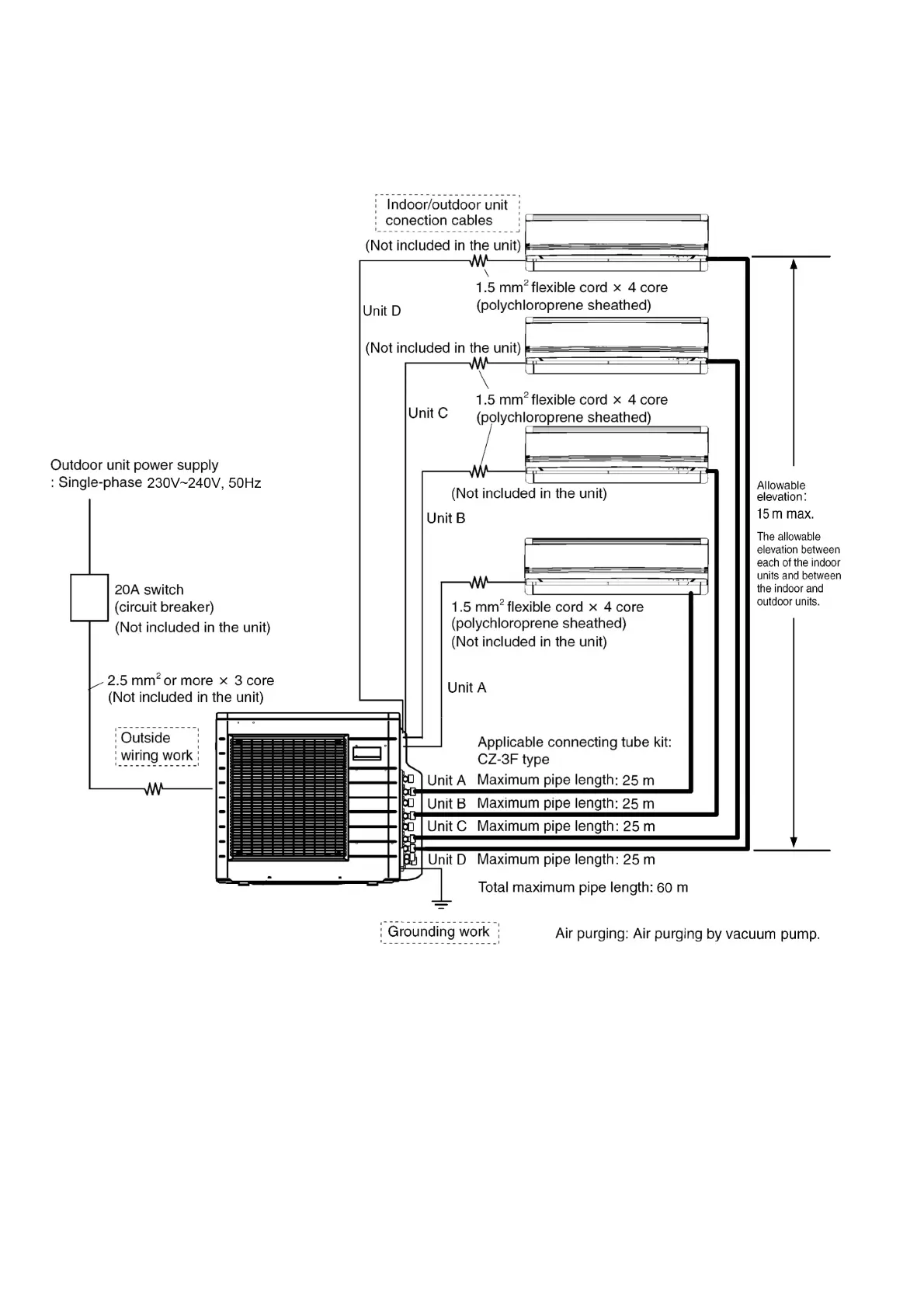
9. Installation Information
9.1 CU-4E23QBR
9.1.1 Check Points

Table of Contents

Other manuals for Panasonic CU-4E27QBR

Related product manuals