EasyManua.ls Logo

Panasonic CU-MA190KE - Refrigeration Cycle Diagram

Panasonic CU-MA190KE
56 pages
Print Icon
To Next Page IconTo Next Page
To Next Page IconTo Next Page
To Previous Page IconTo Previous Page
To Previous Page IconTo Previous Page
Loading...
– 13 –
CS-A90KECS-MA90KE
MAC9509078C2
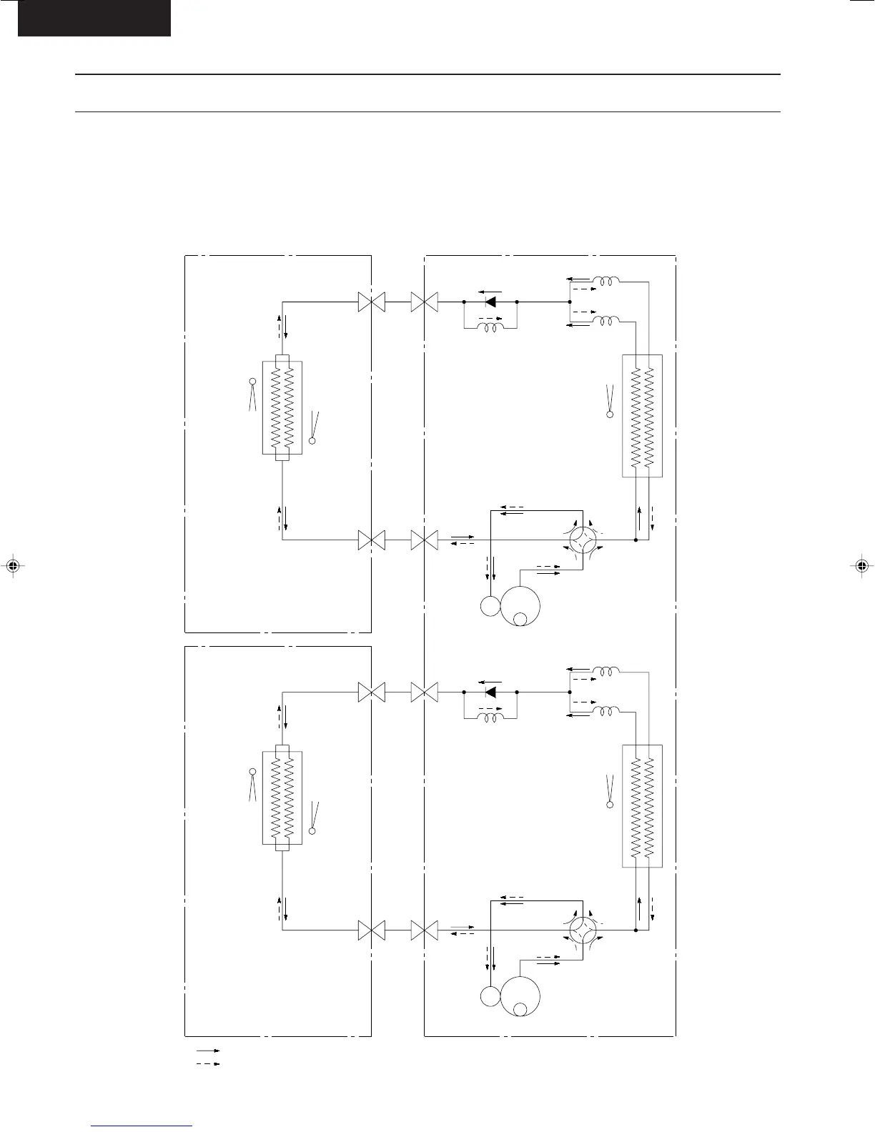
Refrigeration Cycle Diagram
CS-MA90KE / CU-MA180KE
CS-MA120KE / CU-MA240KE
CS-MA70KE / CU-MA190KE
CS-MA120KE
COMP.
4-WAY VALVE
C1
C3
C2
CHECK VALVE
PIPE
TEMP.
SENSOR
(T.R.S)
SENSOR
TEMP.
INTAKE
PIPE
TEMP.
SENSOR
INDOOR OUTDOOR
COOLING
HEATING
HEAT EXCHANGER
(EVAPORATOR)
HEAT EXCHANGER
(CONDENSER)
2-WAY
VALVE
VALVE
3-WAY
3-WAY
VALVE
VALVE
2-WAY
(CONDENSER)
HEAT EXCHANGER
(EVAPORATOR)
HEAT EXCHANGER
SENSOR
TEMP.
PIPE
INTAKE
TEMP.
SENSOR
(T.R.S)
SENSOR
TEMP.
PIPE
CHECK VALVE
C2
C3
C1
4-WAY VALVE
COMP.
C1, C2, C3; CAPILARRY TUBE
Untitled-4 6/30/00, 7:51 AM13

Related product manuals