EasyManua.ls Logo

Panasonic DMR-EZ49VEB

Panasonic DMR-EZ49VEB
157 pages
To Next Page IconTo Next Page
To Next Page IconTo Next Page
To Previous Page IconTo Previous Page
To Previous Page IconTo Previous Page
Loading...
46
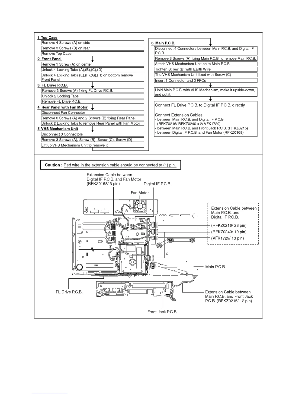
10.1.2. Checking and Repairing of Main P.C.B.

Table of Contents

Other manuals for Panasonic DMR-EZ49VEB

Related product manuals