EasyManua.ls Logo

Panasonic KX-FHD301

Panasonic KX-FHD301
76 pages
To Next Page IconTo Next Page
To Next Page IconTo Next Page
To Previous Page IconTo Previous Page
To Previous Page IconTo Previous Page
Loading...
Automatic Dialing
22
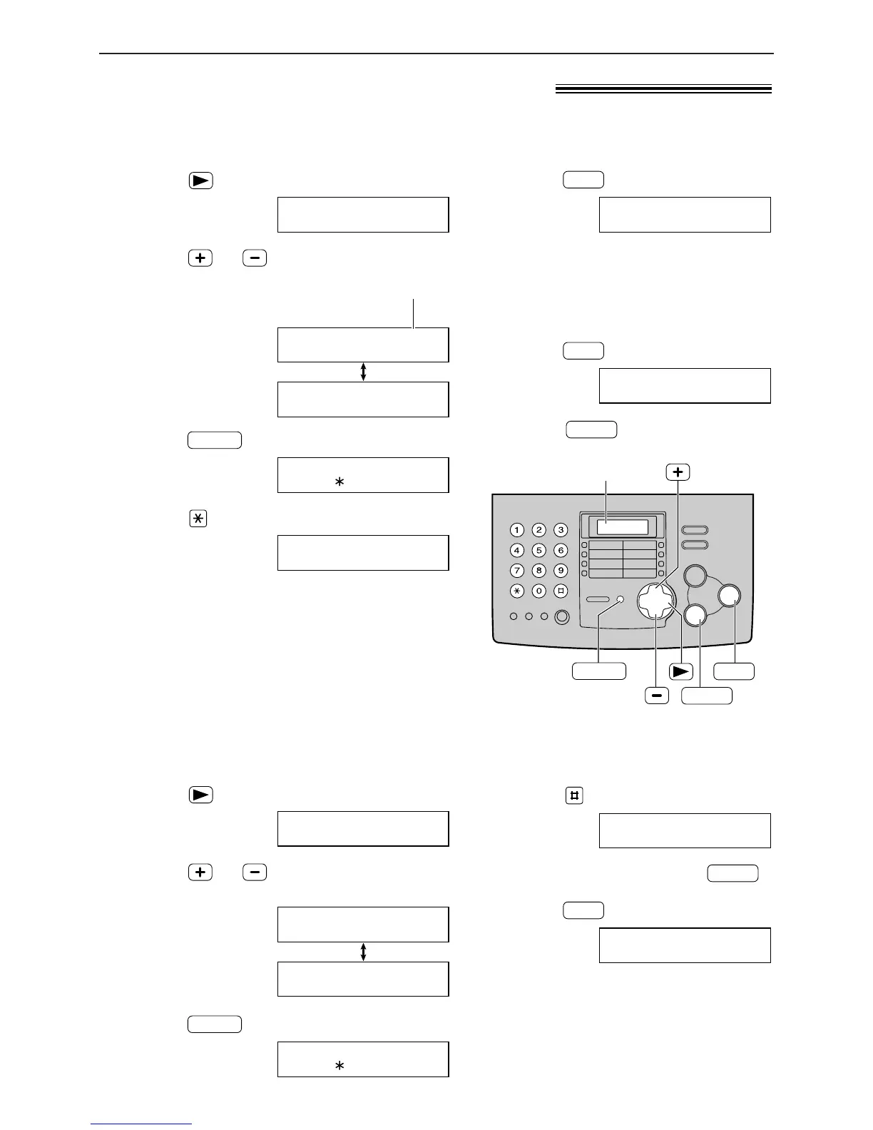
STOP
SET
MENU
Display
1
Press .
Display:
2
Press or until the desired item is
displayed.
Example:
3
Press .
Example:
4
Press to select “EDIT”.
Example:
If you do not need to edit the name, skip to
step 6.
5
Edit the name (see page 17 for instructions).
NAME=Mary
STORE:PRESS SET
NAME=Mary
EDIT= DELETE=#
MENU
Mary
<S02>
EDIT:PRESS MENU
Mary
<S02>
0123456
DIRECTORY[+ -]
1
Press .
Display:
2
Press or until the desired item is
displayed.
Example:
3
Press .
Example:
NAME=Peter
EDIT= DELETE=#
MENU
Peter
EDIT:PRESS MENU
Peter
9876543
DIRECTORY[+ -]
Editing a stored item
Erasing a stored item
6
Press .
Example:
If you do not need to edit the
telephone number, skip to step 8.
7
Edit the telephone number. For
further details, see page 21.
8
Press .
9
Press to exit the program.
STOP
REGISTERED
SET
<S02>=0123456
SET
Editing and erasing a stored item!
4
Press to select “DELETE”.
To cancel erasing, press .
5
Press .
The stored name and number are
deleted.
DELETED
SET
STOP
DELETE OK?
YES:SET/NO:STOP
You can edit a name or number stored in
one-touch dial
and navigator directory.
You can erase an item stored for
one-touch dial
and navigator directory.
means the station number
for
one-touch dial

Table of Contents

Other manuals for Panasonic KX-FHD301

Related product manuals