EasyManua.ls Logo

Panasonic KX-FHD301

Panasonic KX-FHD301
76 pages
To Next Page IconTo Next Page
To Next Page IconTo Next Page
To Previous Page IconTo Previous Page
To Previous Page IconTo Previous Page
Loading...
Caller ID
27
CALLER ID
SET
MENU
Display
Station keys
LOWER
Important:
This feature is not available in the following cases.
— The telephone number includes data other than numbers (i.e. or #).
— The caller information does not include a telephone number.
Note:
You can confirm the stored items on the
telephone number list (p. 69).
You can only store a name of up to 10
characters long.
To edit a name and number, see page 22.
If you enter a new item into a station key, the
previous entry will be overwritten.
If you use
station
1 as a broadcast
key
, you
cannot store caller information for station 1.
If the navigator directory is full, you cannot
store caller information.
Storing caller information in one-touch dial
and navigator directory!
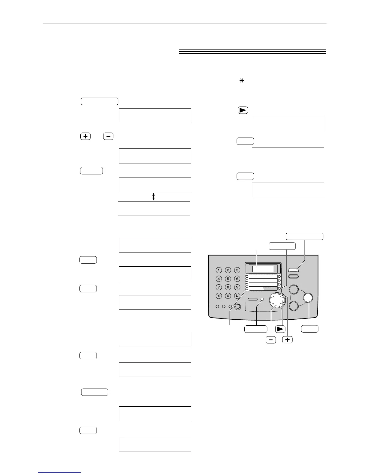
1
Press .
Example:
2
Press or until the name you want
to store is displayed.
Example:
3
Press .
4
For station 1:
Press station 1 key.
Press .
Example:
Press .
Example:
For stations 2–7:
Press the desired station key.
Example:
Press .
Example:
For stations 8–14:
Press , then press the desired
station key.
Example:
Press .
Example:
<S09>1345678901
SET
NAME=WENDY
STORE:PRESS SET
LOWER
<S04>1345678901
SET
NAME=WENDY
STORE:PRESS SET
<S01>1345678901
SET
NAME=WENDY
STORE:PRESS SET
SET
STATION 1
DIAL MODE
[±]
WENDY
PRESS NAVI.
WENDY
PRESS STATION OR
MENU
WENDY
11:50A Apr14
2 NEW CALLS
PRESS NAVI.[+ -]
CALLER ID
For navigator directory:
Press .
Example:
Press .
Example:
5
Press .
@@@REGISTERED
SET
NO.=1345678901
SET
NAME=WENDY
STORE:PRESS SET

Table of Contents

Other manuals for Panasonic KX-FHD301

Related product manuals