EasyManua.ls Logo

Panasonic KX-TDA100D

Panasonic KX-TDA100D
68 pages
To Next Page IconTo Next Page
To Next Page IconTo Next Page
To Previous Page IconTo Previous Page
To Previous Page IconTo Previous Page
Loading...
2.1.4 System Management Programming
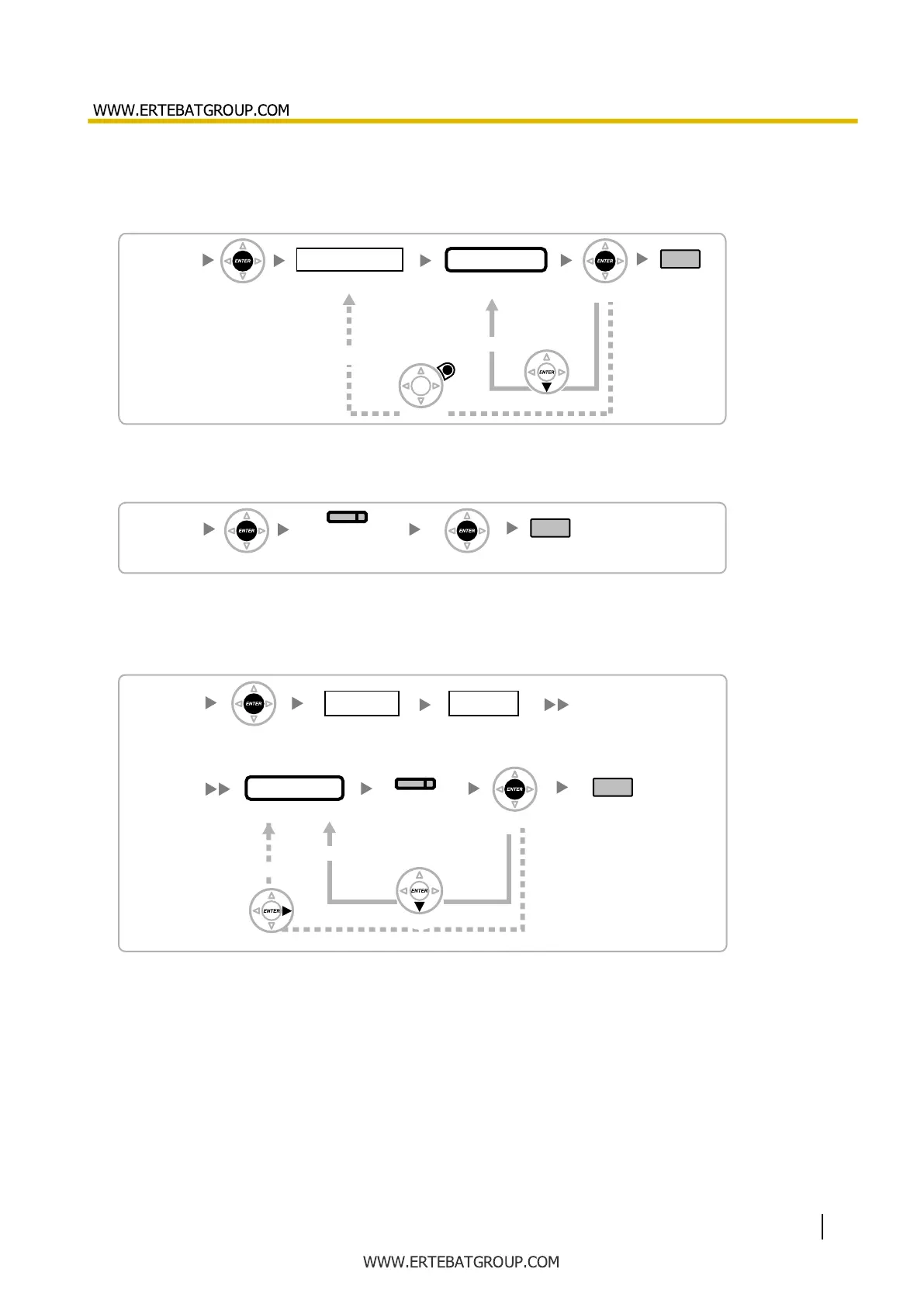
[100] Flexible Numbering
[100]
01–68
Location No. Feature No.
END
(HOLD)
ENTER ENTER
CANCEL
NEXT
To the Next Location No.
To the Desired Location No.
1–4 digits
[101] Time Service Switching Mode
[101]
Manual/Automatic
END
SELECT
(AUTO ANS/MESSAGE)
ENTER
ENTER
[102] Time Service Starting Time
[In 12-hour Format]
[102]
01:00–12:59
Hour:Minute
END
ENTER
ENTER
Day No. Time No.
0 Sun/1 Mon/
2 Tue/3 Wed/
4 Thu/5 Fri/6 Sat
1 Day-1/2 Lunch/
3 Day-2/4 Night
Page up
NEXT
To the Next Time No.
To the Next Day No.
AM/PM
SELECT
PT Programming Manual 23
2.1.4 System Management Programming
WWW.ERTEBATGROUP.COM
WWW.ERTEBATGROUP.COM

Table of Contents

Other manuals for Panasonic KX-TDA100D

Related product manuals