EasyManua.ls Logo

Panasonic Lumix DMC-FX77

Panasonic Lumix DMC-FX77
155 pages
To Next Page IconTo Next Page
To Next Page IconTo Next Page
To Previous Page IconTo Previous Page
To Previous Page IconTo Previous Page
Loading...
- 135 -
Others
Others
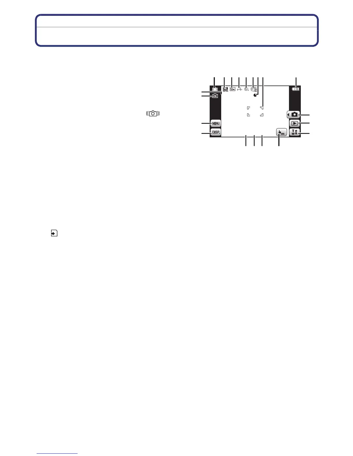
Screen Display
In recording
Recording in Normal Picture Mode [!] (Initial setting)
1 Recording Mode
2 Recording quality (P91)
3 Picture size (P75)
4 Quality (P76)
5 Flash Mode (P71)
6 Optical Image Stabilizer (P89)/ : Jitter
alert (P20)
7 Focus (P22)
8 AF area (P22)
9 Battery indication (P9)
10 Recording Mode selection (P18)
11 Playback Mode selection (P95)
12 Zooming with touch operation (P51)
13 Touch shutter (P21)
14 Shutter speed (P19)
15 Aperture value (P19)
16 ISO sensitivity (P77)
17 Display (P46)
18 Menu (P36)
19 Built-in memory (P13)
: Card (P13) (displayed only during recording)
20 Number of recordable pictures
¢
(P15)
¢
[i99999] is displayed if there are more than 100,000 pictures remaining.
×
1/601/60
1/60
F2.5F2.5
F2.5
100100100
ISOISOISO
151515
13141516
1357 9
4
268
10
11
12
17
18
19
20

Table of Contents

Other manuals for Panasonic Lumix DMC-FX77

Related product manuals