EasyManua.ls Logo

Panasonic NA-F1011T

Panasonic NA-F1011T
30 pages
To Next Page IconTo Next Page
To Next Page IconTo Next Page
To Previous Page IconTo Previous Page
To Previous Page IconTo Previous Page
Loading...
8
4. OPERATIONS PANEL
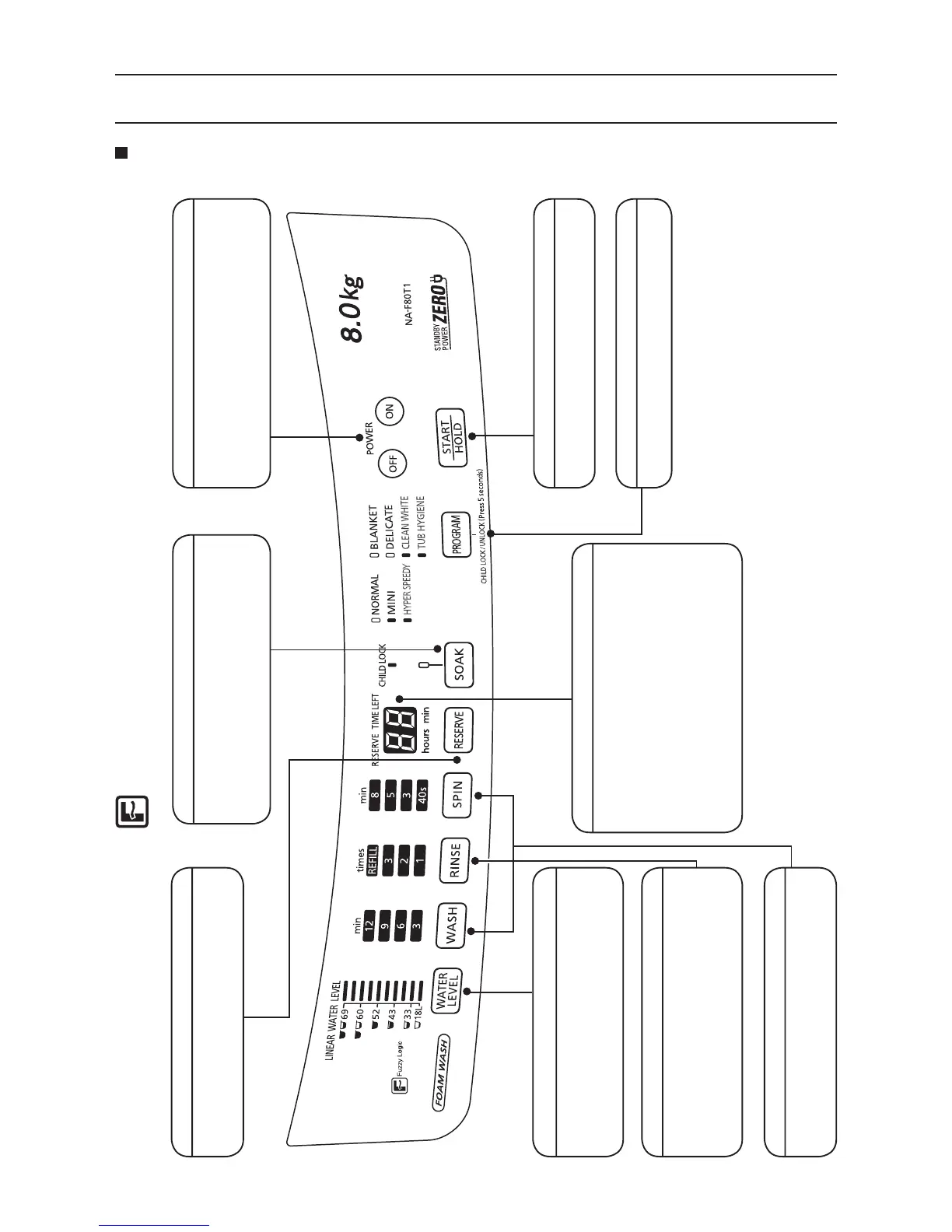
Operations Panel
Fuzzy logic control is used to recommend the proper water level and amount of detergent for
the amount of laundry being done.
Caution: If you need to change the [PROGRAM] and [SOAK] settings after the cycle has already started,
turn the power off and on it back.
4.1 Model NA-F80B1 / NA-F80T1 / NA-F90T1 / NA-F1011T
RESERVE
Press the [RESERVE] button to set how many
hours later you would like the wash to be
completed.
SOAK (EXCEPT NA-F80B1)
Operations course for heavily washed laundry.
You can adjust soak time based on the
condition of dirt.
You can choose your soak time from 1, 3, 5,
8 hours.
OFF/ON
The power automatically turns off when total
operations is nished.
The power automatically turns off if [START/
HOLD] button is not pressed within 10
minutes after turning on the power.
WASH/SPIN
Press this button, and the pre-set laundry
cycle display will turn off allowing you to
choose your own laundry setting.
WATER LEVEL (Water volume display)
The appropriate WATER LEVEL for the size
and type of your laundry will be displayed.
You can adjust the WATER LEVEL according
to your desired level.
RINSE
Press this button, and the pre-set laundry
cycle display will turn off allowing you to
choose your own laundry setting.
At REFILL selection, water will be supplied
while RINSE process is in operation.
Time display
When the machine is in operation, the time
display shows how much time (in minutes) is
left.
When the programmable timer has been
set, this display shows how much time is
left until the wash is nished by pressing the
[RESERVE] button.
Timer indication on the panel will show longer
time than selected time as it includes water
feeding, draining, etc.
START/HOLD
Press this to start.
Press this to stop in the middle of the cycle.
PROGRAM (Course Select)
According to type of laundry and stain, you
can select suitable course yourself.

Related product manuals