EasyManua.ls Logo

Panasonic TC-L42E5X - Troubleshooting Guide - Power Issues; Power LED Blinking Timing Chart; No Power Troubleshooting

Panasonic TC-L42E5X
72 pages
Print Icon
To Next Page IconTo Next Page
To Next Page IconTo Next Page
To Previous Page IconTo Previous Page
To Previous Page IconTo Previous Page
Loading...
TC-L42E5X
12
6.2. Power LED Blinking timing chart
1. Subject
Information of LED Flashing timing chart.
2. Contents
When an abnormality occurs, the protection circuit will operate and reset the unit to stand by mode. During this time, the
defective block can be identified by the number of blinking times of the Power LED on the front panel of the unit as follow:
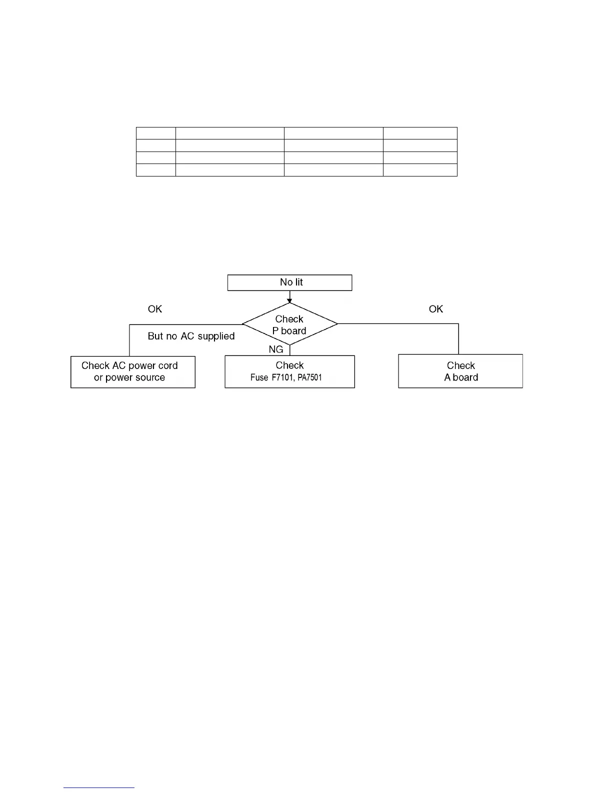
6.3. No Power
First check point
There are following 2 states of No Power indication by power LED.
1. No lit
2. Red is lit then turns red blinking a few seconds later. (See 6.2.)
Priority Name Factor R_LED Blink
1 BL_SOS SOS from PANEL inverter 1
2 POWER_SOS SOS from POWER Curcuit 3
3 SOUND_SOS SOS from audio AMP 9

Table of Contents

Related product manuals