EasyManua.ls Logo

Panasonic TH-42PV500B - Sound Menu Settings; Basic Audio Adjustments (Bass, Treble); Advanced Sound Options (NICAM, Mode); HDMI Audio Input Source Selection

Panasonic TH-42PV500B
260 pages
To Next Page IconTo Next Page
To Next Page IconTo Next Page
To Previous Page IconTo Previous Page
To Previous Page IconTo Previous Page
Loading...
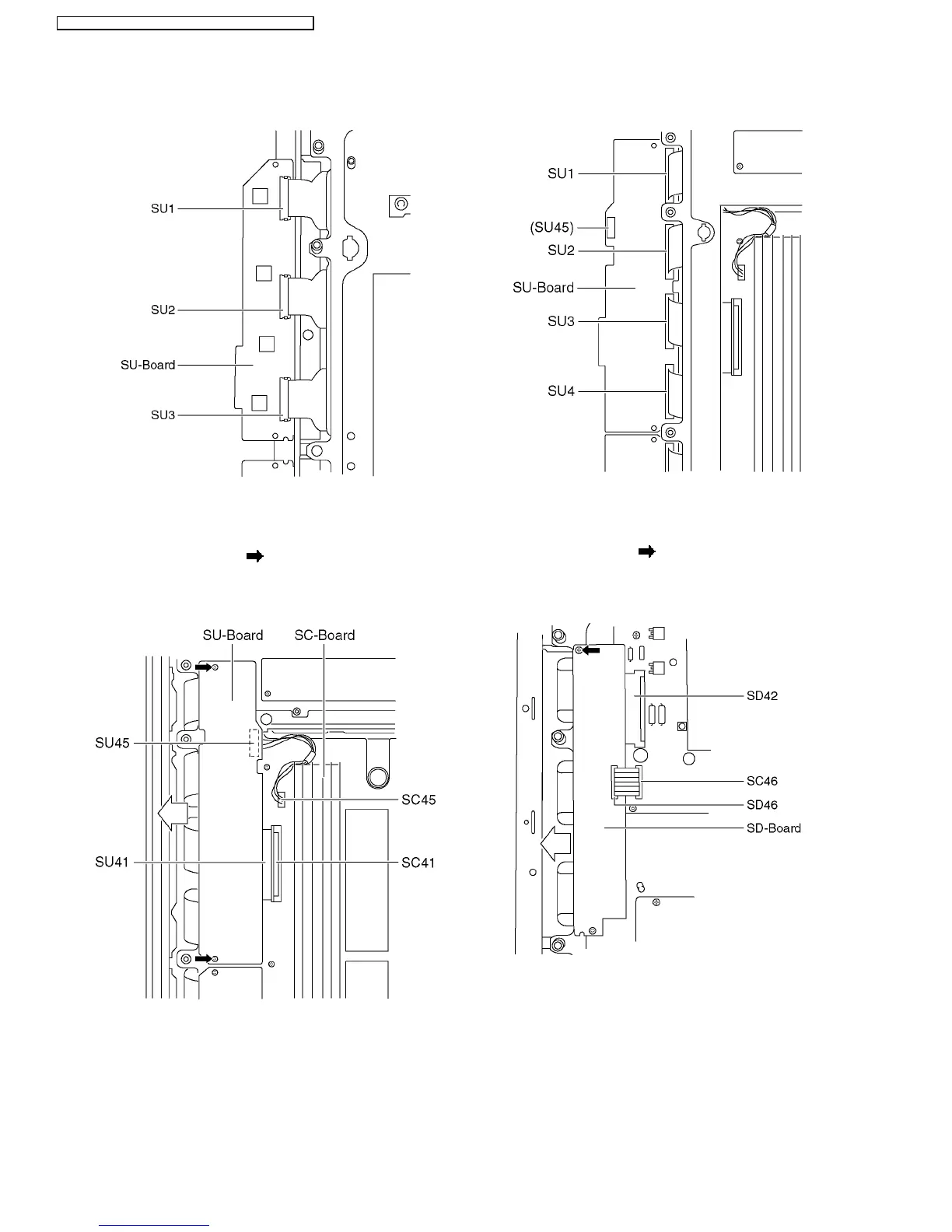
3. Disconnect the flexible cables (SU1, SU2, SU3) connected
to the SU-Board, and remove the SU-Board.
6.13. Remove the SU-Board
(42inch)
1. Remove the screws (×2 ).
2. Slide the SU-Board to the left to disconnect from a coupler
(SC41 - SU41) on the SC-Board and remove a coupler
(SU45 or SC45).
3. Remove the flexible cables (SU1, SU2, SU3, SU4)
connected to the SU-Board, and remove the SU-Board.
6.14. Remove the SD-Board
(37inch)
1. Remove the screws (×2 )
2. Slide the SD-Board to the left to disconnect from a coupler
(SC42 - SD42) on the SC-Board and disconnect a bridge
connector (SD46 or SC46).
14
TH-42PV500E / TH-42PV500B / TH-37PV500E / TH-37PV500B

Table of Contents

Other manuals for Panasonic TH-42PV500B

Related product manuals