EasyManua.ls Logo

Panasonic TH-42PV8MSA - No Picture Troubleshooting

Panasonic TH-42PV8MSA
126 pages
Print Icon
To Next Page IconTo Next Page
To Next Page IconTo Next Page
To Previous Page IconTo Previous Page
To Previous Page IconTo Previous Page
Loading...
17
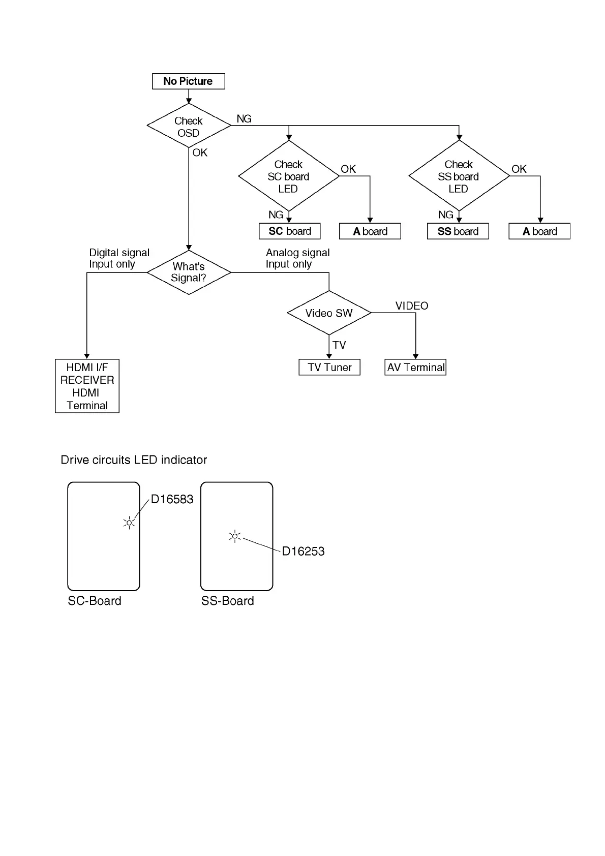
6.4. No Picture

Related product manuals