EasyManua.ls Logo

Panasonic TX-P37C2B - Exploded View and Parts List; Exploded View and Mechanical Parts List; Exploded View 1

Panasonic TX-P37C2B
117 pages
Print Icon
To Next Page IconTo Next Page
To Next Page IconTo Next Page
To Previous Page IconTo Previous Page
To Previous Page IconTo Previous Page
Loading...
89
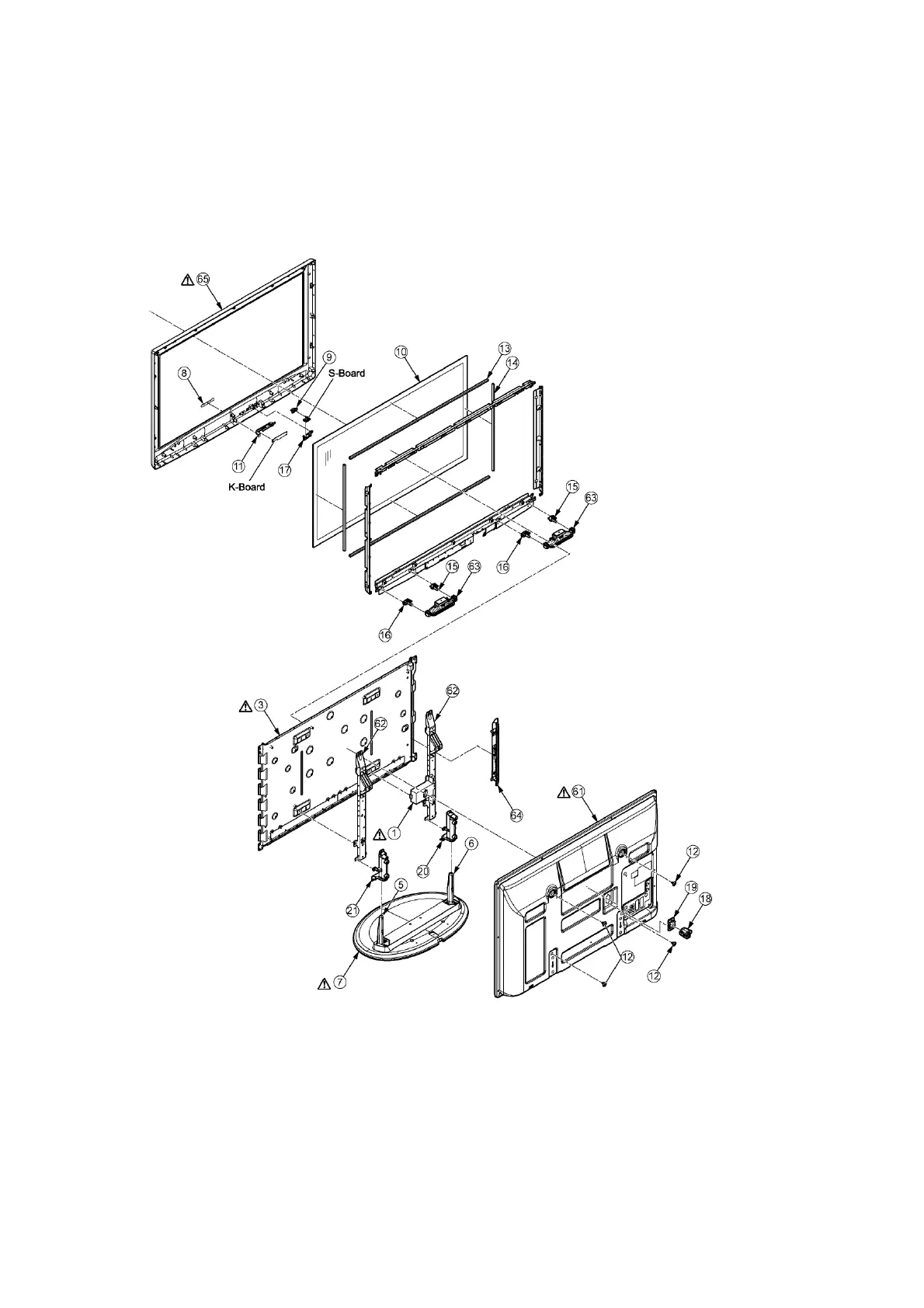
15 Exploded View and Replacement Parts List
15.1. Exploded View and Mechanical Replacement Parts List
15.1.1. Exploded View 1

Table of Contents

Related product manuals