EasyManua.ls Logo

Panasonic TX-P50C3E - Power LED Blinking Timing Chart; No Power

Panasonic TX-P50C3E
106 pages
Print Icon
To Next Page IconTo Next Page
To Next Page IconTo Next Page
To Previous Page IconTo Previous Page
To Previous Page IconTo Previous Page
Loading...
19
7.2. Power LED Blinking timing chart
1. Subject
Information of LED Flashing timing chart.
2. Contents
When an abnormality has occurred the unit, the protection circuit operates and reset to the stand by mode. At this time, the
defective block can be identified by the number of blinks of the Power LED on the front panel of the unit.
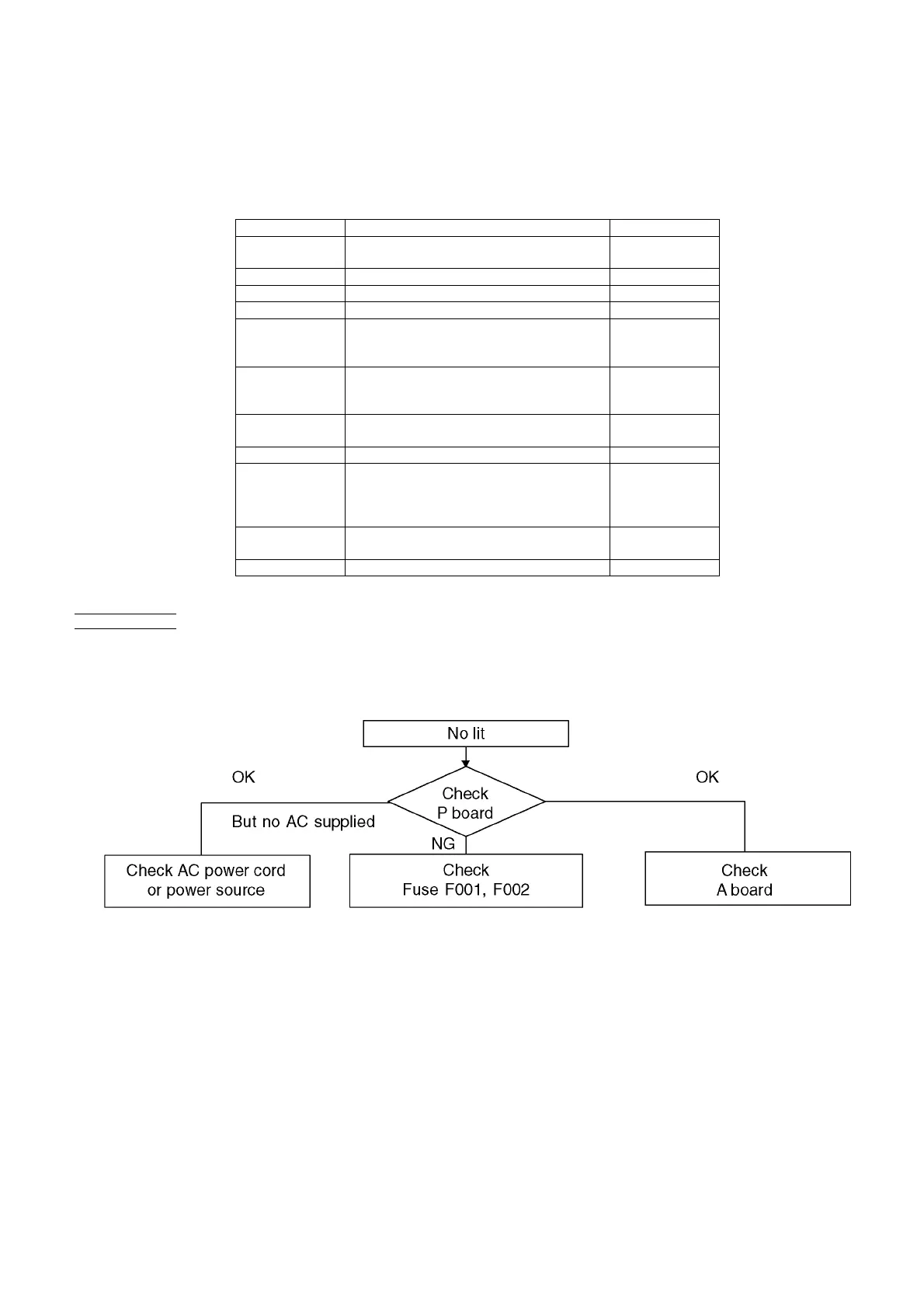
7.3. No Power
First check point
There are following 2 states of No Power indication by power LED.
1. No lit
2. Red is lit then turns red blinking a few seconds later. (See 7.2.)
Blinking Times Contents Check point
1 Panel information SOS
PD5 Start SOS
-
3 P+ 3.3V SOS A-Board
4 Power SOS P-Board
5 P+ 5V SOS A-Board
6 Driver SOS1
(SN/SS Energy recovery circuit)
(A-SN FPC DET)
SN-Board
SS-Board
A-SN FPC
7 Driver SOS2
(SN Connector DET)
(SN Scan and Logic IC)
SN-Board
8 Driver SOS3
(SS FPC DET)
SS-Board
SS FPC
9 Discharge Control SOS A-Board
10 Sub 5V SOS
Sub 3.3V SOS
BE (sLD) SOS
Tuner power SOS
A-Board
SN-Board
SS-Board
P-Board
12 Sound SOS A-Board
Speaker
13 Emergency SOS A-Board

Related product manuals