EasyManua.ls Logo

Panasonic TX-P50VT30E - Measurements and Adjustments; Adjustment; Vsus selection

Panasonic TX-P50VT30E
148 pages
Print Icon
To Next Page IconTo Next Page
To Next Page IconTo Next Page
To Previous Page IconTo Previous Page
To Previous Page IconTo Previous Page
Loading...
33
10 Measurements and Adjustments
10.1. Adjustment
10.1.1. Vsus selection
Caution:
When Plasma panel or A-board is replaced, Vsus should be set to LOW.
Procedure
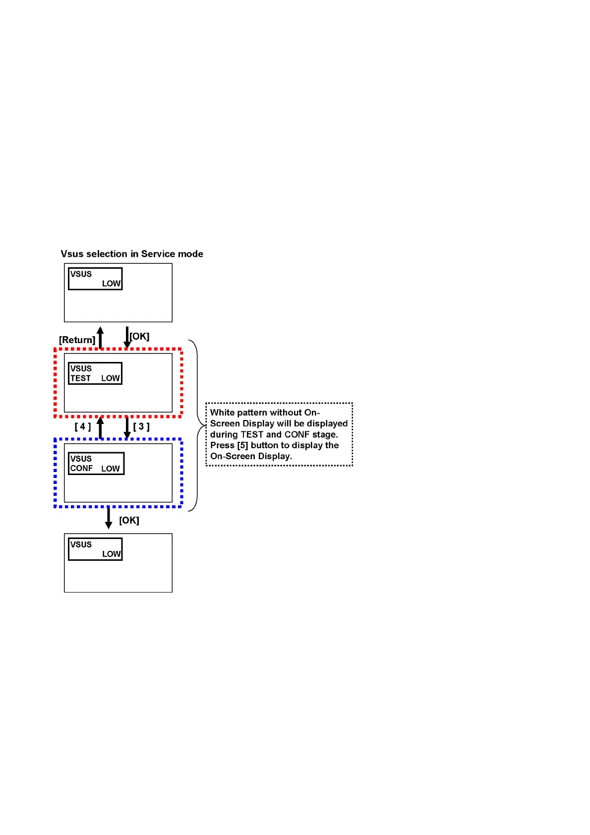
1. Go into main item [VSUS] in Service Mode. LOW will be displayed.
2. Press [OK] button to go to TEST stage.
White pattern without On-Screen Display will be displayed during TEST and CONF stage. Press [5] button to display the
On-Screen Display.
3. In LOW setting
If no several dead pixel is visible remarkably in white pattern, press [3] button to go to CONF stage.
4. Press [OK] button in CONF stage to store LOW.
5. Exit Service Mode by pressing [Power] button.

Table of Contents

Related product manuals