EasyManua.ls Logo

Payne PG96VAT - Page 38

Payne PG96VAT
90 pages
Print Icon
To Next Page IconTo Next Page
To Next Page IconTo Next Page
To Previous Page IconTo Previous Page
To Previous Page IconTo Previous Page
Loading...
38
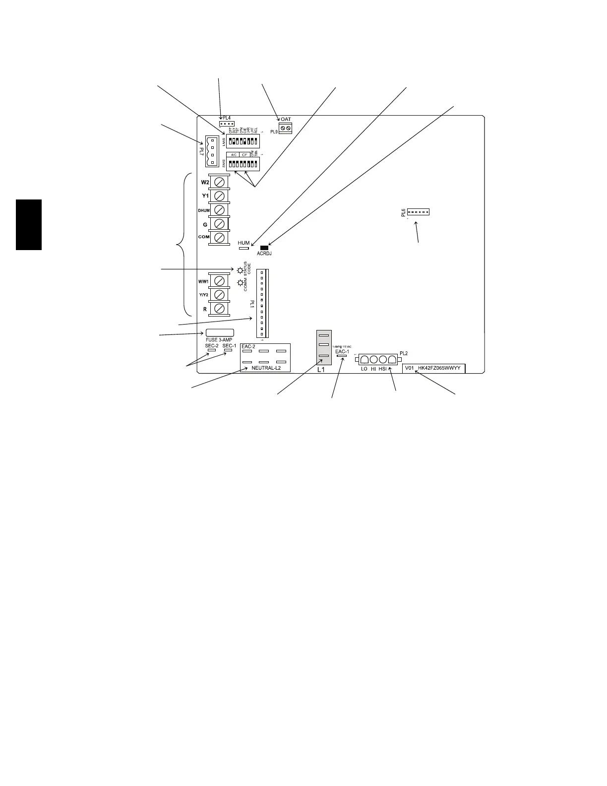
24-V THERMOSTAT
TERMINALS
PL2 – HOT SURFACE
IGNITER & INDUCER
MOTOR CONNECTOR
115-VAC (L2) NEUTRAL
CONNECTIONS
115-VAC (L1) LINE
VOLTAGE CONNECTIONS
EAC-1 TERMINAL
(
115-VAC 1.0 AMP MAX.
)
PL1 – LOW VOLTAGE MAIN
HARNESS CONNECTOR
TRANSFORMER 24-VAC
CONNECTIONS
3-AMP FUSE
STATUS AND COMM
LED LIGHTS
SW1 SETUP
SWITCHES AND
BLOWER OFF-
DELAY
MODEL PLUG
CONNECTOR
TWINNING
CONNECTOR
AIR CONDITIONING (A/C) &
CONTINUOUS FAN (CF)
AIRFLOW SETUP SWITCHES
OUTDOOR
AIR TEMP
CONNECTOR
HUMIDIFIER
TERMINAL (24-VAC
0.5 AMP MAX).
ACRDJ – AIR
CONDITIONING
RELAY DISABLE
JUMPER
FLASH
UPGRADE
CONNECTOR
(FACTORY
ONLY)
SOFTWARE
VERSION
A160198
Fig. 39 -- Example of Variable Speed Furnace Control
PG96VAT

Other manuals for Payne PG96VAT

Related product manuals