EasyManua.ls Logo

PDL MICRODRIVE-I - Current Limit Controls; Current Limit Setup

Default Icon
113 pages
Print Icon
To Next Page IconTo Next Page
To Next Page IconTo Next Page
To Previous Page IconTo Previous Page
To Previous Page IconTo Previous Page
Loading...
Microdrive Series Instruction Manual
4201-109 Rev I
53
18, 19, 20 CURRENT LIMIT CONTROLS
Screen 18 I LIMIT=168A*
Description CURRENT LIMIT
Min/Max 0.05/1.50 of I(Inverter)
Units AMPS
The current limit value can be set from the limit screen or
from either analogue input channel (010V or 420mA)
according to Screen 76. The analogue channels allow
adjustment between 0% and the current limit value set by
this screen.
Screen 19 ILT T/O=NONE
Description CURRENT LIMIT TIMEOUT
Min/Max 0.0/25.0/NONE
Units SECONDS
Screen 20 ILT SLIP=2.0%*
Description CURRENT LIMIT SLIP VALUE
Min/Max 0.0/9.9/OFF
Units %
* These values are dependent on Microdrive current rating.
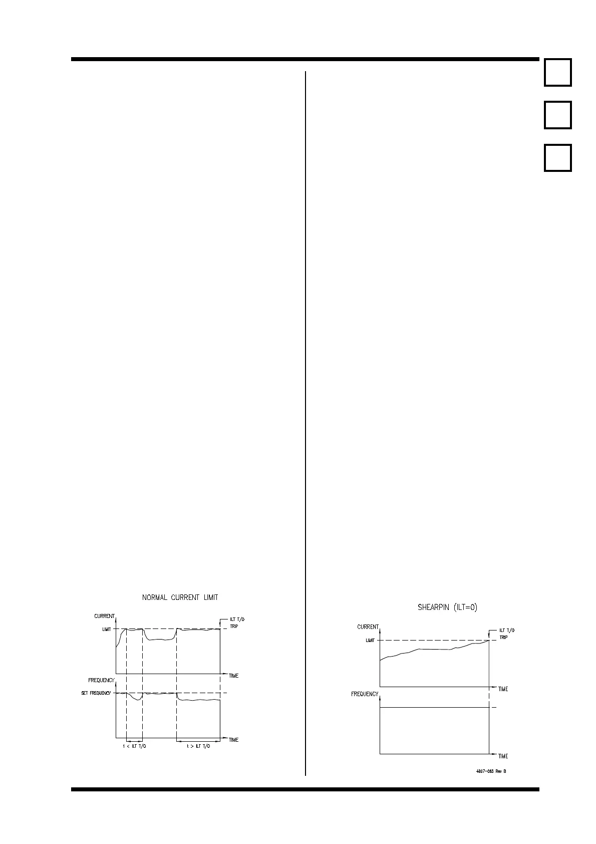
FUNCTION To actively reduce the Microdrive frequency
or acceleration to maintain load current
within controllable bounds (status = ILT).
Current limit timeout provides a setable
maximum time of active current limit,
beyond which the Microdrive will
automatically trip (Fault status = MOTOR
STALLED).
If the current limit timeout period is set at, or
near zero, the current limit function
effectively acts as a SHEARPIN, providing
rapid over-torque protection.
ILT slip is a variable used to enhance the
stability of current limit control by entering a
motor slip parameter.
Facility has been provided to allow the user
to select current limit from the magnitude of
the inverter current or the magnitude of the
torque producing component of the current
(Screen 75). This permits the user to
implement linear load (torque) limiting to low
torque levels which would normally be
masked by magnetising current.
Due to the motor power factor, the torque
producing current is typically 8095% of the
observed inverter current. See also
Appendix 6 - Torque Control Using the
Microdrive Current Limit.
SETTING UP Current limit: Where not strictly part of the
required set-up for the particular application
leave this set at 1.2x Microdrive rated
current.
If there is a particular requirement for this
function (e.g., for torque limiting or to ensure
the motor cannot approach the overload
setting, and thus will not trip out regardless
of the demanded frequency) set the current
limit to the desired value.
Hints: For normal operation, avoid choosing values
much below the motor's rated current as
various effects (boost, rapid acceleration or
deceleration) can lead to confusing results.
Current limit timeout: Where not required
adjust to NONE. Adjust as appropriate for
your application. For SHEARPIN action,
set to 0.0.
Current Limit Slip: Do not adjust this
unless current limit action is unstable.
Nominally this value should be set to the
rated percent slip of the motor (see Screen
46 to calculate this value). To improve
stability of current limit use a lower figure
(the penalty against this is that predictive
current limit action will occur at an earlier
stage, more severely limiting acceleration
rates and possibly intruding more into the
normal area of operation). Predictive
current limit can be turned off by setting ILT
SLIP to OFF.
In applications requiring fast acceleration or
decleration current limit slip should be set to
"OFF" and the current limit to maximum.
Hints: In a well set up application current limit
should never be required. Current limit acts
to override incorrect Microdrive set up or
load problems. If current limit action is
observed during normal operation of the
Microdrive or process, check that the set-up
is correct - particularly check acceleration,
deceleration, motor parameters and boost
settings.
18
19
20

Table of Contents

Related product manuals