EasyManua.ls Logo

Pfaff 1183-712/02

Pfaff 1183-712/02
34 pages
To Next Page IconTo Next Page
To Next Page IconTo Next Page
To Previous Page IconTo Previous Page
To Previous Page IconTo Previous Page
Loading...
Controls
7 - 2
7.03 Control panel
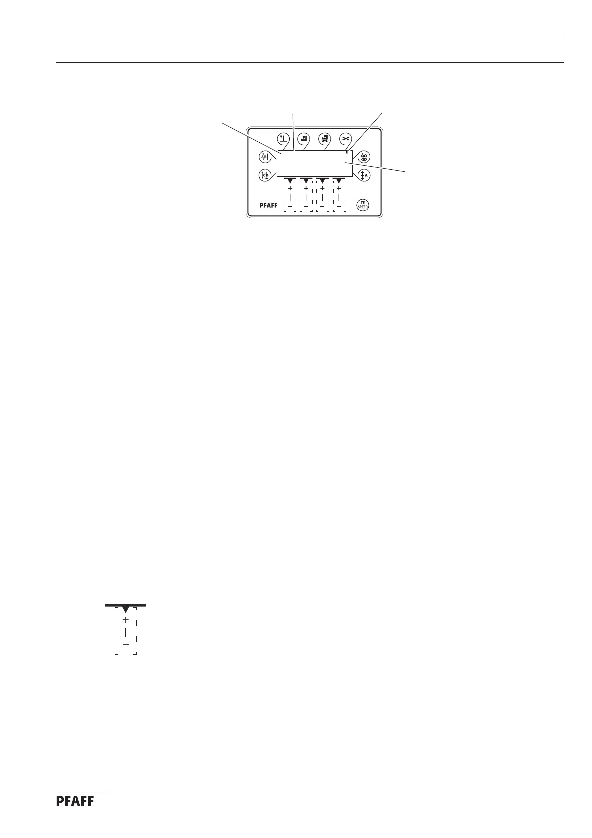
The control panel consists of display 1 and the function keys described below. The display 1
consists of a single-line alpha-numerical, 7 segment LCD display with 8 symbols. The texts
2, located above and next to the LCD display, show the respective status of the function
keys and the operating status of the machine. The control panels switches on all LCD-
segments and the horn automatically for a short time during the power-on phase, after
which the lettering PFAFF appears on the display, until the higher-ranking control unit sends
commands to the control panel.
The function keys are located around the display 1. They are foil-packed without permanent
marking and without contact signal. Fixed functions are allocated to the keys, see Chapter
7.03.02 Function keys.
7.03.01 Screen displays
Activated functions are displayed with a triangular marking 3 below or next to the
respective function key.
During the parameter input the selected parameter number with the corresponding value
is displayed, see Chapter 12.07.02 Example of a parameter input.
7.03.02 Function keys
The function keys described below are used basically to switch machine functions on and
off.
Each time a key is pressed, this must be confirmed by at least one beep tone. Irrespective
of the machine mode a double beep signal is given if invalid keys are pressed or maximum
values reached.
If a corresponding value has to be set for the activated function, this is carried out with the
corresponding +/- key. By pressing and holding the corresponding +/- key, the relevant
numerical value 4 is changed slowly to begin with. If the corresponding +/- key is held down
longer, the values change more quickly.
ABCD
3333
1
2
3
SPEED TE ERROR
4

Other manuals for Pfaff 1183-712/02

Related product manuals