EasyManua.ls Logo

Pfaff 441-O - Knee Lever Stroke Limitation

Pfaff 441-O
34 pages
Print Icon
To Next Page IconTo Next Page
To Next Page IconTo Next Page
To Previous Page IconTo Previous Page
To Previous Page IconTo Previous Page
Loading...
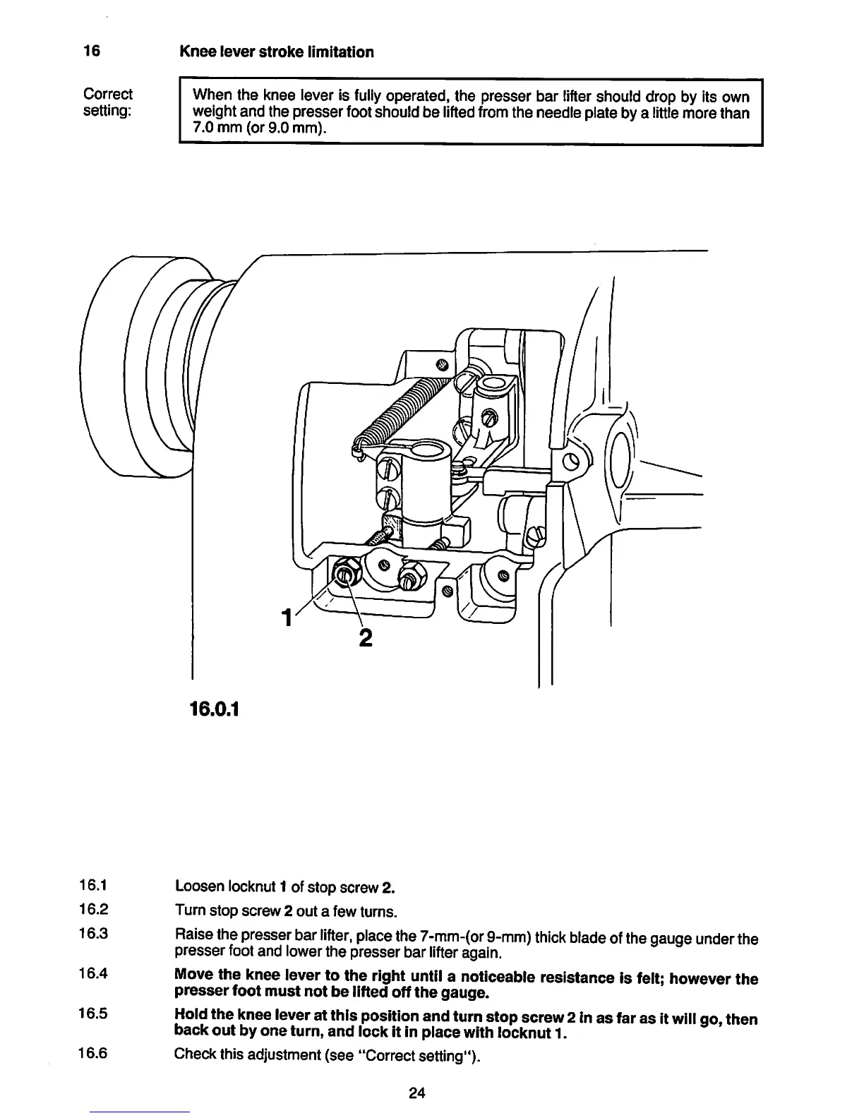
16
Correct
setting:
16.1
16.2
16.3
16.4
16.5
16.6
Knee
lever
stroke
limitation
When the knee lever is
fully
operated, the presser bar
lifter
should drop by Its own
weightand the presserfootshould be
lifted
fromthe needle plate by a
little
more than
7.0
mm (or 9.0 mm).
16.0.1
Loosen locknut1 ofstop screw 2.
Turn
stop
screw
2
out
a few turns.
Raise
the
presser
bar
lifter,
place
the
7-mm-(or
9-mm)
thick
blade
ofthe
gauge
under
the
presser footand lowerthe presser bar
lifter
again.
Move
the knee leverto the right untila noticeable resistance is felt; howeverthe
presser
foot
must
not be lifted off
the
gauge.
Hold
the
knee
lever
atthis
position
andturnstopscrew2inas faras it
will
go,then
back out by one turn, and lock it in place withlocknut 1.
Checkthisadjustment(see "Correctsetting").
24
From the library of: Superior Sewing Machine & Supply LLC

Related product manuals