EasyManua.ls Logo

Philips 32PFL5604/78 - Page 28

Philips 32PFL5604/78
67 pages
Print Icon
To Next Page IconTo Next Page
To Next Page IconTo Next Page
To Previous Page IconTo Previous Page
To Previous Page IconTo Previous Page
Loading...
IC Data Sheets
EN 28 TCM3.2L LA8.
2009-Jun-19
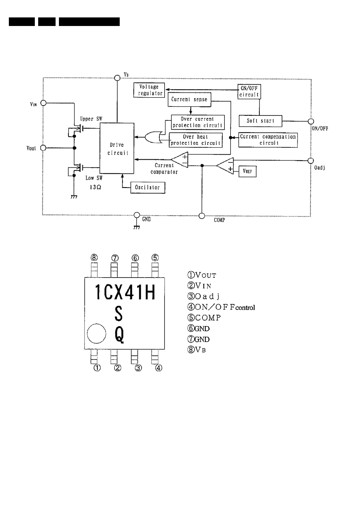
8.4 Diagram B01, PQ1CX41 (IC U20)
Figure 8-4 Internal block diagram and pin configuration
Block Diagram
Pin Configuration
18520_313_090327.eps
090327

Related product manuals