EasyManua.ls Logo

Pioneer XV-DV340 - Front Panel Controls Overview

Pioneer XV-DV340
94 pages
Print Icon
To Next Page IconTo Next Page
To Next Page IconTo Next Page
To Previous Page IconTo Previous Page
To Previous Page IconTo Previous Page
Loading...
Controls and displays10
32
En
11 Sound mode indicators
TONE
Lights when the bass or treble has been
adjusted (page 13), or when Quiet or
Midnight listening (page 13) is on.
BASS
Lights when one of the bass modes is on
(page 13).
12 Playback mode indicators
PGM
Lights during program play (page 17).
RPT
and
RPT
-1
RPT
lights during repeat play.
RPT-1
lights
during repeat one-track play (page 16).
RDM
Lights during random play (page 17).
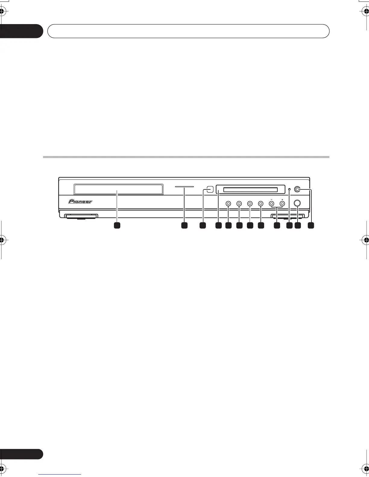
Front panel
1 Disc tray
2 Operation indicator
3 Remote sensor
4 Display
See
Display
above for detailed information.
5
OPEN/CLOSE
Opens/closes the disc tray.
6
DVD/CD
Selects the
DVD
(
CD
) function and starts/
pauses/resumes playback.
7
Stops playback.
8
FM/AM
Selects the tuner function and toggles
between FM/AM bands.
9
VOLUME
buttons
Adjusts the volume.
10 Timer indicator
Lights when the wake-up timer is set (page 21).
11
STANDBY/ON
Switches the system on or into standby.
12
PHONES
jack
Headphone jack.
0
OPEN/CLOSE
6
DVD/CD
STANDBY/ON
PHONES
FM/AM
7
VOLUME
11
7 8 92
10
4 5 61
12
3
Controls_and_displays.fm 32 ページ 2004年12月27日 月曜日 午後2時41分

Table of Contents

Related product manuals