EasyManua.ls Logo

Pioneer XV-DV340 - Remote Control; Power, Source, and Playback Controls; Menu Navigation and Tuning Controls

Pioneer XV-DV340
94 pages
Print Icon
To Next Page IconTo Next Page
To Next Page IconTo Next Page
To Previous Page IconTo Previous Page
To Previous Page IconTo Previous Page
Loading...
Controls and displays
10
33
En
English
Français
Deutsch
Nederlands
Italiano
Español
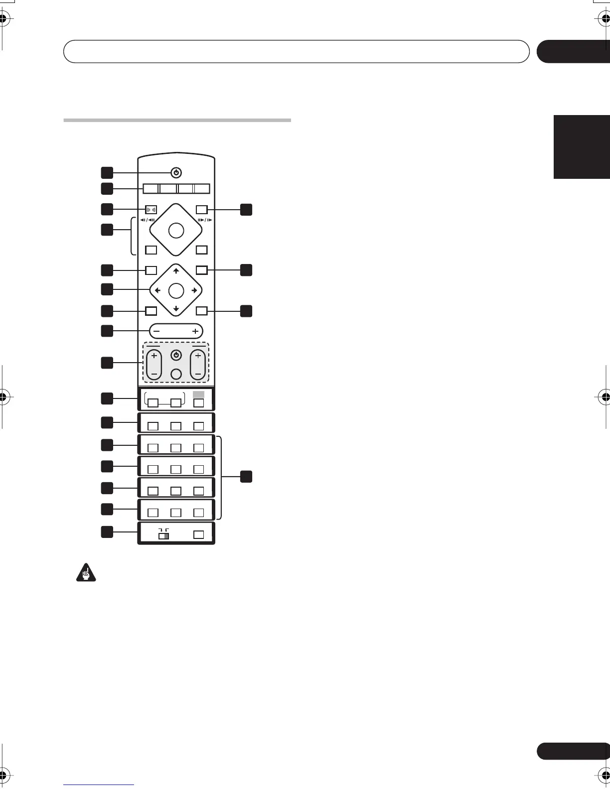
Remote control
Important
Functions printed in green on the remote
control are accessed by switching the
MAIN
/
SUB
switch to
SUB
.
1
STANDBY/ON
Switches the system on or into standby.
2 Function select buttons
Selects the source you want to listen to (
DVD
(
CD
).
TUNER
,
TV
,
LINE
).
3
FRONT SURROUND
Selects a Front Surround listening mode
(page 12).
4 Disc playback controls
See
Basic playback controls
on page 8 and
Playing discs
on page 14 for an explanation of
these controls.
5
DVD MENU
Press to display a DVD disc menu, or the Disc
Navigator.
6 Cursor buttons,
ENTER
and tuning
buttons
Cursor buttons
Use the cursor buttons (
///
) to
navigate on-screen displays and menus.
ENTER
Selects an option or executes a command.
TUNE +/–
Tunes the radio.
ST +/–
Selects station presets when listening to
the radio.
7
MUTE
Mutes the sound (press again to cancel).
8
MASTER VOLUME
Adjusts the volume.
9
TV CONTROL
These can be used to control newer models of
Pioneer plasma displays.
10
OPEN/CLOSE
Opens/closes the disc tray.
11
RETURN
Returns to a previous menu screen.
12
BASS MODE
Selects a Bass Mode (page 13).
AUTO SETUP MCACC
ST+
TUNE+
ENTER
TUNE–
MASTER
VOLUME
ST–
STANDBY/ON
CD FM/AM
OPEN/CLOSE
DVD TUNER TV LINE
L1/L2
1
4
4
¡
8
3
7
0
DVD MENU
RETURN
BASS
MODE
TV CONTROL
CH VOL
INPUT
MUTE
TEST TONE
123
ZOOM
TOP MENU DISPLAY
DIMMER
REPEAT
AUDIO ANGLE
RANDOM
SUBTITLE
PROGRAM
456
789
0
MAIN SUB
CLR
ENTER
SURROUND ADVANCED
MENUSET UP EQ
HOME
SETUP
SYSTEM
CLOCK
TIMER/
FRONT
SURROUND
CH LEVEL
MIDNIGHT
QUIET/
SOUND
DIALOGUE
1
2
3
4
5
6
7
8
9
13
14
15
16
17
19
18
10
11
12
20
XV-DV-NEW_WIZ.book 33 ページ 2004年12月22日 水曜日 午後2時41分

Table of Contents

Related product manuals