EasyManua.ls Logo

Piper ARCHER III - Page 160

Piper ARCHER III
422 pages
Print Icon
To Next Page IconTo Next Page
To Next Page IconTo Next Page
To Previous Page IconTo Previous Page
To Previous Page IconTo Previous Page
Loading...
SECTION 7
DESCRIPTION & OPERATION PA-28-181, ARCHER III
SECTION 7
DESCRIPTION & OPERATION PA-28-181, ARCHER III
REPORT: VB-1611 ISSUED: JULY 12, 1995
7-14
REPORT: VB-1611 ISSUED: JULY 12, 1995
7-14
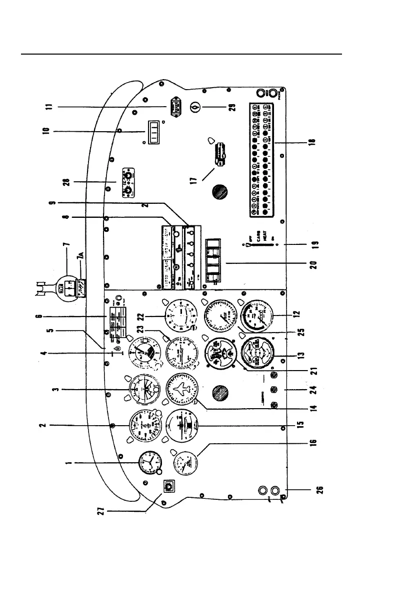
INSTRUMENT PANEL
Figure 7-15
INSTRUMENT PANEL
Figure 7-15

Table of Contents

Related product manuals