EasyManua.ls Logo

Piper SENECA II - Page 737

Piper SENECA II
869 pages
Print Icon
To Next Page IconTo Next Page
To Next Page IconTo Next Page
To Previous Page IconTo Previous Page
To Previous Page IconTo Previous Page
Loading...
391
PIPER SENECA II SERVICE MANUAL
COMBUSTION _
AIR MANOMETER
COMBUSTION
AIR
BLOWER
VENTILATING
AIR
MANOMETER
COMBUSTION
AIR
--P----<R
ESSURE
SWITCH\
FUEL
IN
(FROM
PUMP)
I
-----24"
MIN.-----
I
THERMOMETER,,
OVERHEAT
(LIMIT)
SWITCH
'--~~----1--+--i,c;==::::;.1--------,---/-----i--"----I
t
EXHAUST
OUTLET/
2.25"
DIA.
ORIFICE
DUCT
DUCT
SWITCH
12V
DC
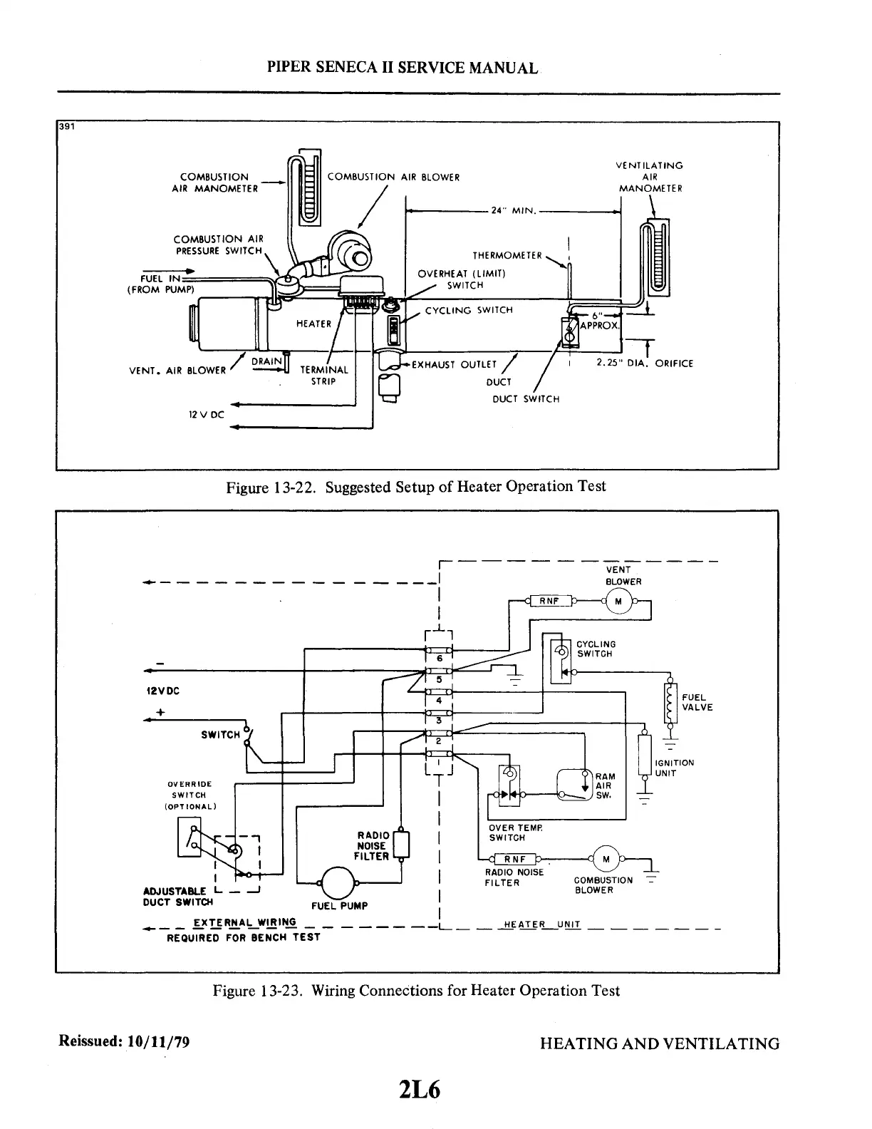
Figure 13-22. Suggested Setup
of
Heater Operation Test
,------
-
-------
,..
___________
_
t2VDC
+
OVERRIDE
SWITCH
(OPTIONAL)
I
I
ADJUSTABLE L - ....J
DUCT SWITCH
RADIO
NOISE
FILTER
FUEL
PUMP
1
VENT
I BLOWER
I
I
r-1..1
L I J
T
I
I
I
I
I
I
I
OVER
TEMP.
SWITCH
R
NF
RADIO NOISE
FILTER
COMBUSTION -
BLOWER
FUEL
VALVE
IGNITION
UNIT
EXTERNAL
WIRING
~----------
-
---
--L-
_
HEATER
UNIT
______
_
REQUIRED FOR BENCH
TEST
Figure 13-23. Wiring Connections for Heater Operation Test
Reissued: 10/11/79
HEATING
AND
VENTILATING
2L6

Table of Contents

Related product manuals