EasyManua.ls Logo

Plessey PRC 320/1 - AM Transmission

Default Icon
99 pages
Print Icon
To Next Page IconTo Next Page
To Next Page IconTo Next Page
To Previous Page IconTo Previous Page
To Previous Page IconTo Previous Page
Loading...
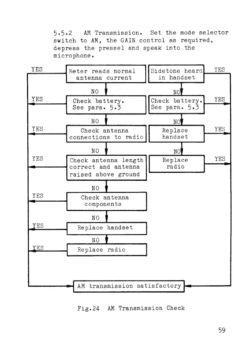
5.5.2
AM
Transmission.
Set
the
mode
selector
switch
to
AM,
the
GAIN
control
as
required,
depress
the
pressel
and
speak
into
the
microphone.
YES
Meter
reads
normal
Sidetone
heard
YES
antenna
current
in
handset
NO
Check
battery.
Check
battery.
See
para.
5.5
See
para.
5.5
%
NO
Check
antenna
Replace
connections
to
radio
handset
_
NO
Replace
radio
Check
antenna
length
correct
and
antenna
raised
above
ground
Check
antenna
components
Replace
handset
P
Replace
radio
AM
transmission
satisfactory
Fig.24
АМ
Transmission
Check