EasyManua.ls Logo

Plessey PRC 320/1 - SSB Reception

Default Icon
99 pages
Print Icon
To Next Page IconTo Next Page
To Next Page IconTo Next Page
To Previous Page IconTo Previous Page
To Previous Page IconTo Previous Page
Loading...
60
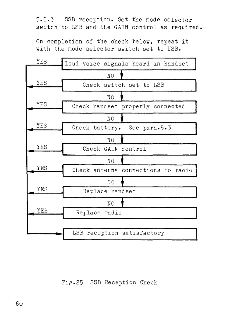
5.5.5
SSB
reception.
Set
the
mode
selector
switch
to
LSB
and
the
GAIN
control
as
required.
Оп
completion
of
the
check
below,
repeat
it
with
the
mode
selector
switch
set
to
USB.
NO
Fig.25
SSB
Reception
Check