EasyManua.ls Logo

Powermatic PM3000 - Safety Devices; Feather Board and Push Blocks; Push Stick; Filler Piece

Powermatic PM3000
36 pages
Print Icon
To Next Page IconTo Next Page
To Next Page IconTo Next Page
To Previous Page IconTo Previous Page
To Previous Page IconTo Previous Page
Loading...
23
Safety Devices
Feather Board and Push Blocks
A push stick is included with the PM3000 table
saw. An optional feather board or push block
may be purchased by calling customer service
at the number shown on the cover and ordering
stock number 709721 (feather board) or 708815
(push block). In addition, a multitude of after
market products are available that can be used
in conjunction with the miter slot and fence.
These can be purchased at most woodworking
stores that sell table saws and accessories.
Push Stick
The use of a push stick provides an added level
of safety for the operator and is provided with
this machine.
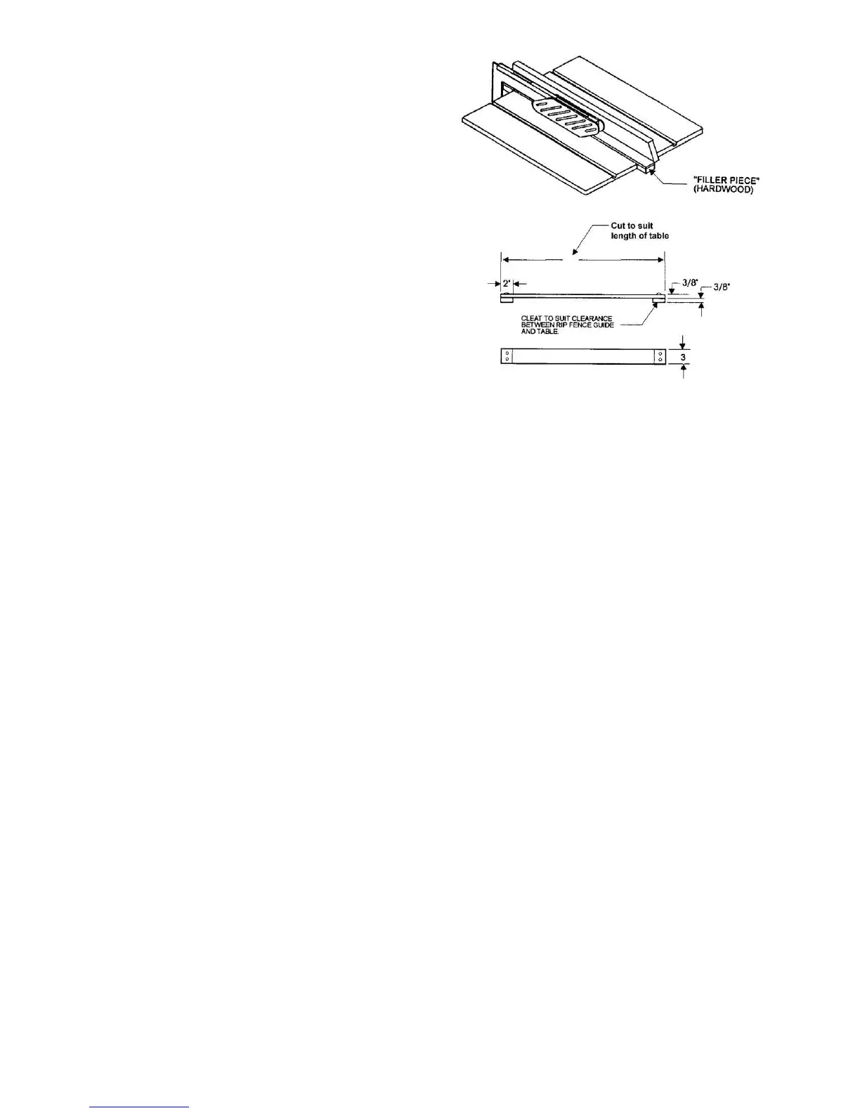
Filler Piece
A filler piece (Figure 33) is necessary for narrow
ripping and permits the blade guard to remain on
the machine. It also provides space for the safe
use of a push stick.
Figure 33 – Filler Piece

Related product manuals