EasyManua.ls Logo

POWERWINCH P55000 - Cable Setup and Installation; Cable Wrapping and Securing; Limit Switch Adjustment; Limit Switch Warnings

Default Icon
12 pages
Print Icon
To Next Page IconTo Next Page
To Next Page IconTo Next Page
To Previous Page IconTo Previous Page
To Previous Page IconTo Previous Page
Loading...
MOTORIZED FOLDING CAMPER WINCH POWERWINCH
4
6. Attach the RED wire with the 40-amp circuit breaker to the POSITIVE (+)
terminal of the battery; attach the
BLACK wire to the NEGATIVE (-) terminal.
7. Route wire cables away from any moving parts such as the gear train and
cable and secure to the frame using nylon ties or equivalent.
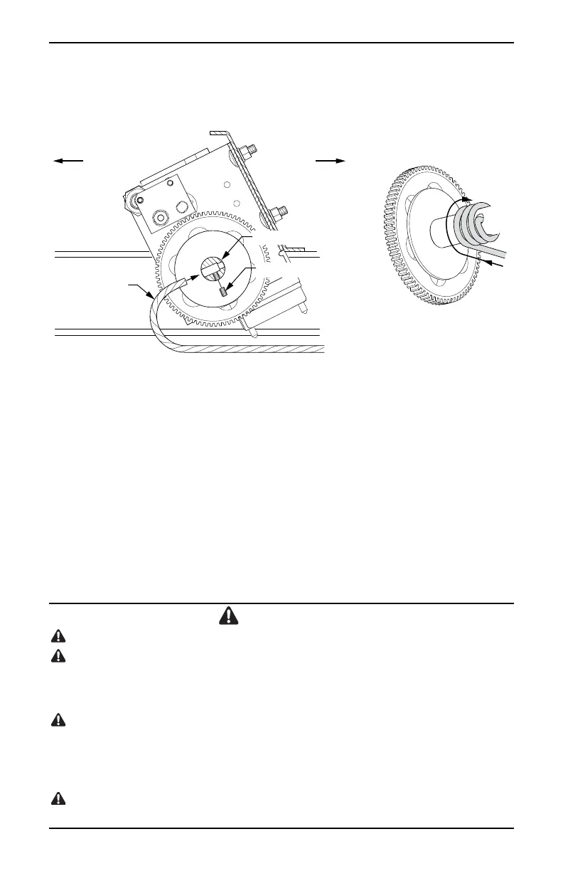
SETTING THE CABLE
Rear of
Camper
Front of
Camper
Winch Cable
from Camper
SetScrew
Cable Shaft
View Looking Up
from Ground
pwFCW002
1. Using the switch, move the cable shaft until the cable hole and the setscrew
are accessible.
2. Insert the cable into the large hole of the drum shaft.
3. Using a 1/8" allen wrench, tighten the setscrew to hold the cable in shaft.
4. Begin wrapping the cable onto the shaft by holding the switch in the "UP"
position. The cable must have a minimum of three (3) complete wraps
around the shaft.
5. Check the cable, there must be no slack in the cable. If there is slack, use the up
switch to continue winding the cable on the drum until the slack is gone.
NOTE: The cable is slack if there is perceptible sag or waviness between
the winch and other end of the cable.
SETTING THE LIMIT SWITCHES
The limit switches turn off the winch when the camper top is closed (lower limit
switch) and when the top is fully extended (upper limit switch).
WARNINGS
Always disconnect the power source when making adjustments or repairs.
Failure to set the lower limit switch can cause the top to not close completely
(switch shuts off early) or cause the motor to run after the top is down
causing an overload for the motor. Both conditions can result in damage to
the winch and/or camper and will void the warranty.
The upper limit switch shuts the winch off when the camper top is raised to
the proper height recommended by the camper manufacturer. Failure to set
the upper limit switch can cause the top to not extend completely (switch
shuts off early) or cause the top to be overextended. Both conditions can
result is personal injury and/or damage to the winch and camper.
The winch has a 5-minute duty cycle. Wait at least 5 minutes between each lifting
cycle. Running the winch continuously will damage the motor and gears.

Other manuals for POWERWINCH P55000

Related product manuals